LEMON Manuals: Even more car manuals for everyone: 1960-2025
Home >> Audi >> 2009 >> A6 Base >> Repair and Diagnosis (Single Page) >> Engine Performance >> Engine Control Systems >> 3.2L - Generic Scan Tool - On Board Diagnostic (OBD) - Engine Code: BKH >> 01 On Board Diagnostic (OBD) >> Diagnosis And Testing >> Knock Sensor, Checking
April 5, 2026: LEMON Manuals is launched! Read the announcement.

Knock Sensor, Checking

The following procedure is used to check Knock Sensor (KS) 1 -G61- and Knock Sensor (KS) 2 -G66-.

NOTE:

Use only gold-plated terminals when servicing terminals in the electrical harness connectors of the Knock Sensor (KS) 1 -G61-.

Special tools and workshop equipment required 

Test Requirements 

Test Procedure 

-- Perform a preliminary check to verify the customer's complaint. Refer to PRELIMINARY CHECK .

NOTE:

The knock sensor electrical connectors can be identified by color. Knock Sensor (KS) 1 --G61-- (Bank 1) is green. Knock Sensor (KS) 2 --G66-- (Bank 2) is gray.

Fig 1: Disconnecting 14 Pin Electrical Harness Connector For Fuel Injectors N33, N83, N84 From Left Rear Of Engine
GWWA13-10100Courtesy of AUDI OF AMERICA, LLC

-- Disconnect the electrical harness connector -1- or -2- of the respective knock sensor.

1 - Knock Sensor (KS) 1 -G61-.

2 - Knock sensor (KS) 2-G66-.

Checking internal resistance

-- Using a Multimeter --, check as follows:

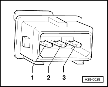
Fig 2: Identifying Knock Sensor Terminals
GWWA28-0029Courtesy of AUDI OF AMERICA, LLC

-- Using a Multimeter, check the Knock Sensor (KS) 1 -G61-

-- or Knock Sensor (KS) 2G66 terminals 1 to 2, 2 to 3, and 1 to 3 for an internal short.

Knock Sensor Terminal
1 to 2
1 to 3
2 to 3

Specified value: ∞ (Infinity).

If the specified value was not obtained:

-- Replace Knock Sensor (KS) 1 -G61- orKnock Sensor (KS) 2G66 as necessary. Refer to Component Locations Overview .

If the specified value was obtained:

Checking wiring

If the manufacturers test box is being used, perform the following step.

-- Install the test box VAG1598/42. Refer to Component Locations Overview .

If the manufacturers test box is not being used, perform the following step.

-- Remove the Engine Control Module (ECM) -J623-. Refer to ENGINE CONTROL MODULE, REPLACING .

-- Using a Multimeter --, check the knock sensor electrical harness connector to the Engine Control Module (ECM) -J623- electrical harness connector for resistance.

Knock Sensor Wiring Harness Connector Terminal Engine Control Module (ECM)J623Wiring Harness Connector Terminal or Test box Socket
1 Ground (GND) 41
2 (signal) 58
3 (shielding) 42
Knock Sensor Wiring Harness Connector Terminal Engine Control Module (ECM)J623Wiring Harness Connector Terminal or Test box Socket
1 Ground (GND) 56
2 (signal) 57
3 (shielding) 42

Specified value: 1.5 Ω max.

If the specified value was not obtained:

-- Check the wiring for a short circuit to Battery positive (+) or an open circuit.

-- If necessary, repair the wiring connection.

If no malfunction is found in the wiring and the resistance was not OK:

-- Replace Knock Sensor (KS) 1 -G61-. Refer to Component Locations Overview .

-- Erase the DTC memory. Refer to DIAGNOSTIC MODE 04 - ERASE DTC MEMORY .

-- Perform a road test to verify repair.

If the DTC does not return:

Repair complete, Generate readiness code. Refer to READINESS CODE .

-- End diagnosis.

If the DTC does return and no malfunction is detected in the wiring and the voltage supply was not OK:

-- Replace the Engine Control Module (ECM) -J623-. Refer to ENGINE CONTROL MODULE, REPLACING .

-- Assembly is performed in the reverse of the removal.

Final Procedures 

After the repair work, the following work steps must be performed in the following sequence:

  1. Check the DTC memory. Refer to DIAGNOSTIC MODE 03 - READ DTC MEMORY .
  2. If necessary, erase the DTC memory. Refer to DIAGNOSTIC MODE 04 - ERASE DTC MEMORY .
  3. If the DTC memory was erased, generate readiness code. Refer to READINESS CODE .