Knock Sensor, Checking
The following procedure is used to check Knock Sensor (KS) 1 G61 and Knock Sensor (KS) 2 G66.
- Use only gold-plated terminals when servicing terminals in the electrical harness connectors of the Knock Sensor (KS) 1 G61.
Special tools, testers and auxiliary items required
- Multimeter.
- Wiring diagram.
Test requirements
- The mounting bolt of Knock Sensor (KS) 1 G61 tightened to 20 Nm.
- The Engine Control Module (ECM) J623 fuses OK.
- Battery voltage at least 12.5 V.
- All electrical consumers such as, lights and rear window defroster, switched off.
- Vehicles with automatic transmission, shift selector lever into position "P" or "N".
- A/C switched off.
- Ground (GND) connections between engine/transmission/chassis OK.
- Ignition switched off.
Test procedure
- Perform a preliminary check to verify the customers complaint. Refer to → Preliminary Check .
- The knock sensor electrical connectors can be identified by color. Knock Sensor (KS) 1 -G61- (Bank 1) is green. Knock Sensor (KS) 2 -G66- (Bank 2) is gray.
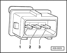
- Disconnect the electrical harness connector - 1 - or - 2 - of the respective knock sensor.
1 - Knock Sensor (KS) 1 -G61-.
2 - Knock sensor (KS) 2 -G66-.
Checking internal resistance
- Using a Multimeter , check as follows:
- Using a Multimeter , check the Knock Sensor (KS) 1 G61
- or Knock Sensor (KS) 2 G66 terminals 1 to 2, 2 to 3, and 1 to 3 for an internal short.
| Knock Sensor Terminal |
|---|
| 1 to 2 |
| 1 to 3 |
| 2 to 3 |
Specified value: ∞ (Infinity).
If the specified value was not obtained:
- Replace Knock Sensor (KS) 1 G61 or Knock Sensor (KS) 2 G66 as necessary. Refer to 24 - FUEL INJECTION SYSTEM .
If the specified value was obtained:
Checking wiring
If the manufacturers test box is being used, perform the following step.
- Install the test box VAG1598/42. Refer to 24 - FUEL INJECTION SYSTEM .
If the manufacturers test box is not being used, perform the following step.
- Remove the Engine Control Module (ECM) J623. Refer to → Engine Control Module, Replacing .
- Using a Multimeter , check the knock sensor electrical harness connector to the Engine Control Module (ECM) J623 electrical harness connector for resistance.
- Knock Sensor (KS) 1 -G61-
| Knock Sensor Wiring Harness Connector Terminal | Engine Control Module (ECM) J623 Wiring Harness Connector Terminal or Test box Socket |
|---|---|
| 1 Ground (GND) | 41 |
| 2 (signal) | 58 |
| 3 (shielding) | 42 |
- Knock Sensor (KS) 2 -G66-
| Knock Sensor Wiring Harness Connector Terminal | Engine Control Module (ECM) J623 Wiring Harness Connector Terminal or Test box Socket |
|---|---|
| 1 Ground (GND) | 56 |
| 2 (signal) | 57 |
| 3 (shielding) | 42 |
Specified value: 1.5 Ω max.
If the specified value was not obtained:
- Check the wiring for a short circuit to Battery positive (+) or an open circuit.
- If necessary, repair the wiring connection.
If no malfunction is found in the wiring and the resistance was not OK:
- Replace Knock Sensor (KS) 1 G61. Refer to 24 - FUEL INJECTION SYSTEM .
- Erase the DTC memory. Refer to → Diagnostic Mode 04 - Reset/Delete Diagnostic Data .
- Perform a road test to verify repair.
If the DTC does not return:
Repair complete, Generate readiness code. Refer to → Readiness Code .
- End diagnosis.
If the DTC does return and no malfunction is detected in the wiring and the voltage supply was not OK:
- Replace the Engine Control Module (ECM) J623. Refer to → Engine Control Module, Replacing .
- Assembly is performed in the reverse of the removal.
Final procedures
After the repair work, the following work steps must be performed in the following sequence:
- Check the DTC memory.
- If necessary, erase the DTC memory. Refer to Diagnostic Mode 04 - Reset/Delete Diagnostic Data .
- If the DTC memory was erased, generate readiness code. Refer to Readiness Code .