LEMON Manuals: Even more car manuals for everyone: 1960-2025
Home >> Audi >> 2011 >> TT Base, 2D Convertible >> Repair and Diagnosis (Single Page) >> Accessories & Equipment >> Communication Devices >> Communication (Roadster) >> 91 Communication >> Description And Operation >> Sound System >> Front Roof Module Microphone Unit Overview
April 5, 2026: LEMON Manuals is launched! Read the announcement.

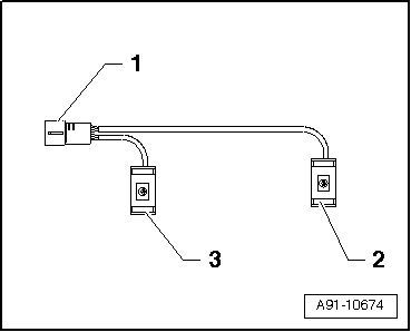
Front Roof Module Microphone Unit Overview

Fig 1: Microphone Unit In Front Roof Module -R164-
GWWA91-10674Courtesy of AUDI OF AMERICA, LLC

1 - Black 4-pin Multi-pin Harness Connector (T4g)

1 - Microphone 1 to telephone transceiver

2 - Microphone 1 to Telephone transceiver

3 - Microphone 2 to digital sound system control module

4 - Microphone 2 to digital sound system control module

2 - Microphone 1

3 - Microphone 2