LEMON Manuals: Even more car manuals for everyone: 1960-2025
Home >> Audi >> 2011 >> TT Base, 2D Convertible >> Repair and Diagnosis (Single Page) >> Quick Lookups >> Wiring Diagrams >> OEM Connector End Views >> Connector End Views >> Engine Control Module (ECM) Connector End View (J623, T81, T40)
April 5, 2026: LEMON Manuals is launched! Read the announcement.

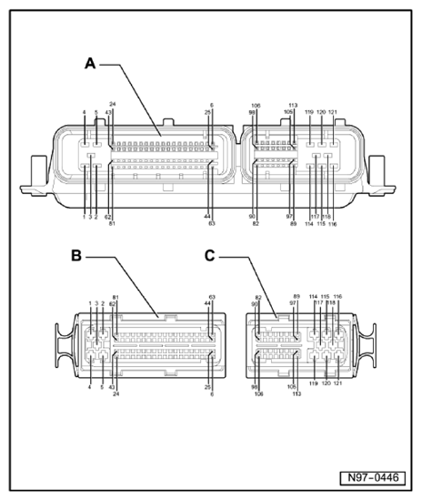
Engine Control Module (ECM) Connector End View (J623, T81, T40)

Fig 1: Engine Control Module (ECM) Connector End View (J623, T81, T40)
G10359862
A Engine Control Module (ECM) -J623-
B 81-Pin Connector -T81-, black on wiring harness
C 40-Pin Connector -T40-, black on wiring harness