LEMON Manuals: Even more car manuals for everyone: 1960-2025
Home >> Audi >> 2011 >> TT Base, 2D Convertible >> Repair and Diagnosis (Single Page) >> Quick Lookups >> Wiring Diagrams >> OEM Connector End Views >> Connector End Views >> Engine Control Module (ECM) Connector End View (J623, T94, T60)
April 5, 2026: LEMON Manuals is launched! Read the announcement.

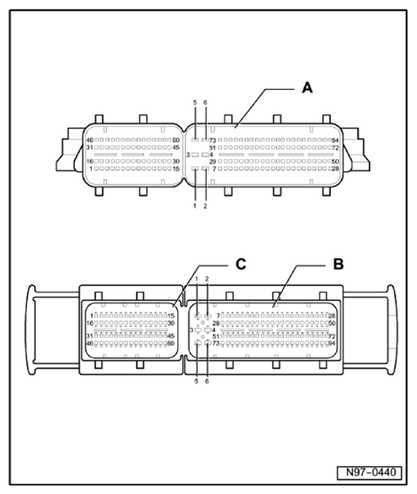
Engine Control Module (ECM) Connector End View (J623, T94, T60)

Fig 1: Engine Control Module (ECM) Connector End View (J623, T94, T60)
G10359861
A Engine Control Module (ECM) -J623-
B 94-Pin Connector -T94-, black on wiring harness
C 60-Pin Connector -T60-, black on wiring harness