LEMON Manuals: Even more car manuals for everyone: 1960-2025
Home >> Audi >> 2011 >> TT Base, 2D Convertible >> Repair and Diagnosis (Single Page) >> Quick Lookups >> Wiring Diagrams >> OEM Connector End Views >> Connector End Views >> Fuel Pump (FP) Control Module Connector End View (J538, T10k)
April 5, 2026: LEMON Manuals is launched! Read the announcement.

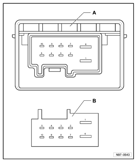
Fuel Pump (FP) Control Module Connector End View (J538, T10k)

Fig 1: Fuel Pump (FP) Control Module Connector End View (J538, T10k)
G10359873
A Fuel Pump (FP) Control Module -J538-
B 10-Pin Connector -T10k-, black on wiring harness