LEMON Manuals: Even more car manuals for everyone: 1960-2025
Home >> Audi >> 2012 >> A8 Base >> Repair and Diagnosis >> Engine Performance >> System >> 4.2L - Generic Scan Tool - Engine Code: CDRA (2 Of 2) >> St Generic Scan Tool >> Diagnosis And Testing >> Diagnostic Procedures >> Intake Manifold Runner Control Valve, Checking
April 5, 2026: LEMON Manuals is launched! Read the announcement.

Intake Manifold Runner Control Valve, Checking

Special Tools And Workshop Equipment Required 

Test requirements

Test procedure

-- Perform a preliminary check to verify the customers complaint. Refer to PRELIMINARY CHECK .

-- Remove the rear engine cover -arrows-.

Fig 1: Pulling Rear Engine Cover Off
GWWA10-1515Courtesy of AUDI OF AMERICA, LLC
NOTE:

The Intake manifolds have been removed for clarity.

Start diagnosis

-- Disconnect the Intake Manifold Runner Control (IMRC) Valve -N316- electrical harness connector -1-.

Fig 2: Identifying Electrical Harness Connectors At Front Of Intake Manifold
GWWA24-10197Courtesy of AUDI OF AMERICA, LLC

Checking internal resistance

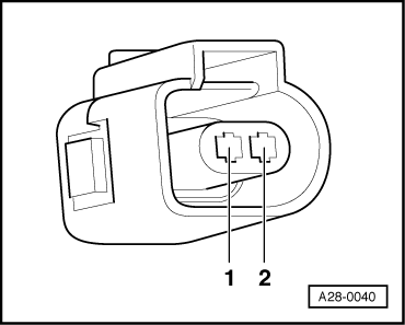
-- Using a multimeter, check the Intake Manifold Runner Control (IMRC) Valve -N316- terminals 1 to 2 for resistance.

Fig 3: 2-Pin Electrical Connector & Terminals
GWWA28-0040Courtesy of AUDI OF AMERICA, LLC

Specified value: 25 [+/-] 10 Ω.

If the specified value was not obtained:

-- Replace the Intake Manifold Runner Control (IMRC) Valve -N316-. Refer to the appropriate service information.

If the specified value was obtained:

Checking voltage

Switch the ignition on.

-- Using a multimeter, check the Intake Manifold Runner Control (IMRC) Valve -N316- electrical harness connector terminal 1 to ground (GND) for voltage.

Fig 4: 2-Pin Electrical Harness Connector & Terminals
GWWA24-0331Courtesy of AUDI OF AMERICA, LLC

Specified value: battery voltage.

-- Switch the ignition off.

If the specified value was not obtained:

-- Check the wiring from the Intake Manifold Runner Control (IMRC) Valve -N316- electrical harness connector terminal 1 to fuse S 130 on fuse panel B.

-- Check the electrical harness connector for damage, corrosion, loose or broken terminals.

-- If necessary, repair the wiring connection.

If no malfunctions are found in the wiring:

Checking wiring

If the manufacturers test box is being used, perform the following step.

-- Install the test box.

If the manufacturers test box is not being used, perform the following step.

-- Remove the Engine Control Module (ECM) -J623-. Refer to the appropriate service information.

-- Using a multimeter, check the Intake Manifold Runner Control (IMRC) Valve -N316- electrical harness connector terminal 1 to the Engine Control Module (ECM) -J623- electrical harness connector for resistance.

Intake Manifold Runner Control (IMRC) Valve -N316- electrical harness connector terminal Engine Control Module (ECM) -J623- electrical harness connector terminal
1 33

Specified value: 1.5 Ω Max.

If the specification was not obtained:

-- Check the wiring for a open circuit.

-- Check the electrical harness connector for damage, corrosion, loose or broken terminals.

-- If necessary, repair the faulty wiring connection.

If no malfunction is detected in the wiring:

-- Erase the DTC memory. Refer to DIAGNOSTIC MODE 04 - ERASE DTC MEMORY .

-- Perform a road test to verify repair.

If the DTC does not return:

Generate readiness code. Refer to READINESS CODE .

If the DTC does return and no malfunction is detected in the wiring and the voltage supply was OK:

-- Replace the Engine Control Module (ECM) -J623-. Refer to the appropriate service information.

Final procedures

After the repair work, the following work steps must be performed in the following sequence:

  1. Check the DTC memory. Refer to DIAGNOSTIC MODE 03 - READ DTC MEMORY .
  2. If necessary, erase the DTC memory. Refer to DIAGNOSTIC MODE 04 - ERASE DTC MEMORY .
  3. If the DTC memory was erased, generate readiness code. Refer to READINESS CODE .