LEMON Manuals: Even more car manuals for everyone: 1960-2025
Home >> Audi >> 2015 >> R8 Plus, Standard Trans >> Repair and Diagnosis (Single Page) >> Electrical >> Wiring Diagrams >> OEM Connector End Views >> Connector End Views >> Comfort System Central Control Module Connector End View (J393, T18b, T8b, T18d, T6f)
April 5, 2026: LEMON Manuals is launched! Read the announcement.

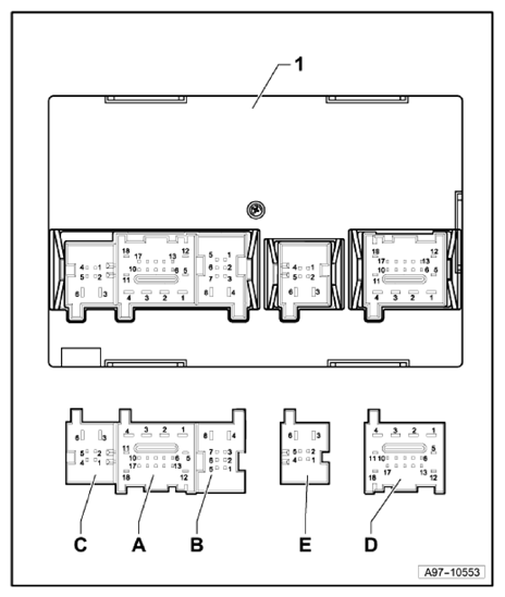
Comfort System Central Control Module Connector End View (J393, T18b, T8b, T18d, T6f)

Fig 1: Comfort System Central Control Module Connector End View (J393, T18b, T8b, T18d, T6f)
G10359906Courtesy of AUDI OF AMERICA, LLC
1 Comfort System Central Control Module -J393-
A 18-Pin Connector -T18b-, brown
B 8-Pin Connector -T8b-, black
C Not used
D 18-Pin Connector -T18d-, black
E 6-Pin Connector -T6f-, black