LEMON Manuals: Even more car manuals for everyone: 1960-2025
Home >> Audi >> 2017 >> S5 2D Convertible >> Repair and Diagnosis (Single Page) >> Accessories & Equipment >> Infotainment >> Communication (Cabriolet) >> 91 Communication >> Connection For External Multimedia Devices >> External Audio Source Connection -R199-, Removing And Installing >> External Audio Source Connection -R199-, Removing And Installing >> Removing
April 5, 2026: LEMON Manuals is launched! Read the announcement.

External Audio Source Connection -R199-, Removing And Installing: Removing

-- Open the glove compartment.

-- Insert the two clips on the Radio Removal Tool :T10057  into the slits on the External Audio Source Connection -R199- until they engage. Points on the grip eyelets of tool face outward.

GWWA91-10955Courtesy of VOLKSWAGEN GROUP OF AMERICA, INC.

-- Remove the External Audio Source Connection -R199- from the frame.

-- Release and disconnect all the connectors from the External Audio Source Connection -R199-.

-- Press the tabs on the External Audio Source Connection -R199- and remove the Radio Removal Tool :T10057  .

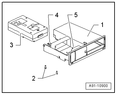
Remove the internal control unit

-- Remove the screws -2- (2Nm) on the bottom.

GWWA91-10900Courtesy of VOLKSWAGEN GROUP OF AMERICA, INC.

-- Press the tabs -4- and -5- down and up and remove the control module out of the frame -1-.