LEMON Manuals: Even more car manuals for everyone: 1960-2025
Home >> Audi >> 2017 >> S5 2D Convertible >> Repair and Diagnosis (Single Page) >> Accessories & Equipment >> Warning Systems >> Communication (Cabriolet) >> 91 Communication >> Connection For External Multimedia Devices >> External Audio Source Connection -R199-, Removing And Installing >> External Audio Source Connection -R199- Removing And Installing >> Removing
April 5, 2026: LEMON Manuals is launched! Read the announcement.

External Audio Source Connection -R199- Removing And Installing: Removing

-- Remove The Center Console Storage Compartment, refer to FRONT CENTER CONSOLE STORAGE COMPARTMENT, REMOVING AND INSTALLING .

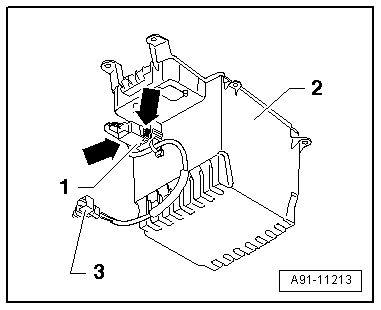
-- Release and disconnect the connector -3- from the External Audio Source Connection -R199- -1-.

GWWA91-11213Courtesy of VOLKSWAGEN GROUP OF AMERICA, INC.

-- Squeeze together the retaining tabs -arrow- on the External Audio Source Connection -R199- -1- and slide the External Audio Source Connection -R199- -1- into the storage compartment -2-.