LEMON Manuals: Even more car manuals for everyone: 1960-2025
Home >> BMW >> 2000 >> 750iL >> Repair and Diagnosis >> Steering >> Power Steering >> Steering And Wheel Alignment - Repair >> Electronic Chassis >> 32 00... General information and definitions
April 5, 2026: LEMON Manuals is launched! Read the announcement.

32 00... General information and definitions

Toe angle difference

D Center point of operating circle

The toe angle difference is the angle adjustment of the inner cornering wheel relative to the outer cornering wheel when negotiating a curve. Steering is designed in such a way that angular position of wheels changes as steering lock progresses.

A correctly adjusted toe angle difference produces equal values for left and right lock with consideration of factory tolerances.

Toe angle difference provides information on corresponding operation of steering trapezoid for left or right steering lock from center position.

Camber

Inclination of the wheel from the perpendicular.

Fig 1: Identifying Toe Angle Difference And Center Point Of Operating Circle
G03213502Courtesy of BMW OF NORTH AMERICA, INC.
Fig 2: Identifying Wheel Inclination
G03213503Courtesy of BMW OF NORTH AMERICA, INC.

Toe

Reduction in distance of front of front wheels to rear of front wheels. The toe-in prevents the wheels from moving apart during driving and thus:

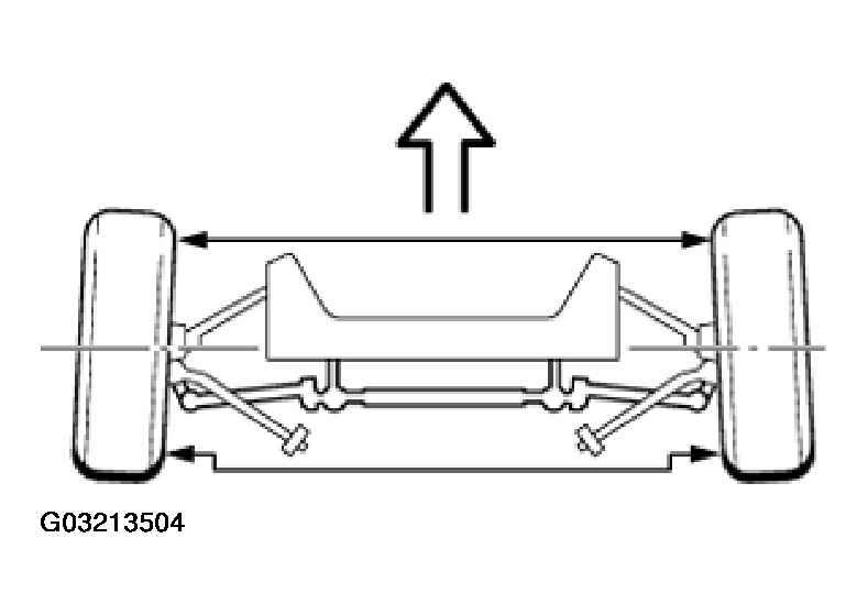
Measurement is performed in "straight-ahead mode".

Fig 3: Identifying Measurement In Straight-Ahead Mode
G03213504Courtesy of BMW OF NORTH AMERICA, INC.

Caster

Is the inclination of the kingpin in the direction of travel viewed from the side. The line through the center point of the spring strut support bearing and the control arm ball joint corresponds to the "kingpin".

Thanks to caster, wheels are pulled and not pushed. In a similar manner to king pin inclination, when driving in curves or around corners, returning forces are reproduced to help return wheels to straight-ahead position.

Fig 4: Identifying Caster
G03213505Courtesy of BMW OF NORTH AMERICA, INC.

Geometrical axis 1

Is the angle bisector from the total rear-wheel toe.

Front-wheel measurements are taken in reference to this axis.

Symmetrical axis 2

Center line running through front and rear axles.

Fig 5: Identifying Geometrical Axis 1 And Symmetrical Axis 2
G03213506Courtesy of BMW OF NORTH AMERICA, INC.

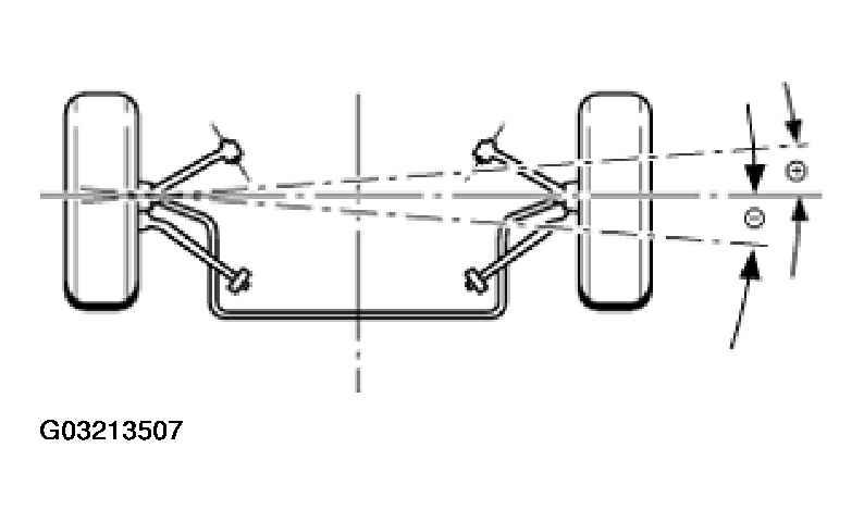
Wheel offset

Angle by which one front wheel is displaced more towards front or rear than the other front wheel.

Fig 6: Identifying Wheel Offset
G03213507Courtesy of BMW OF NORTH AMERICA, INC.

Kingpin offset/scrub radius

Is the distance from the center of the wheel contact face to the intersection point of the kingpin extension. The line through the center point of the spring strut support bearing and the control arm ball joint corresponds to the "kingpin".

The scrub radius is influenced by camber, kingpin angle and wheel offset of the wheel rim.

Fig 7: Identifying Kingpin Offset/Scrub Radius
G03213508Courtesy of BMW OF NORTH AMERICA, INC.