LEMON Manuals: Even more car manuals for everyone: 1960-2025
Home >> BMW >> 2003 >> X5 46i >> Repair and Diagnosis >> General Information >> OEM General Information >> Model Update - Overview >> X5 Update >> System Components >> Notes
April 5, 2026: LEMON Manuals is launched! Read the announcement.

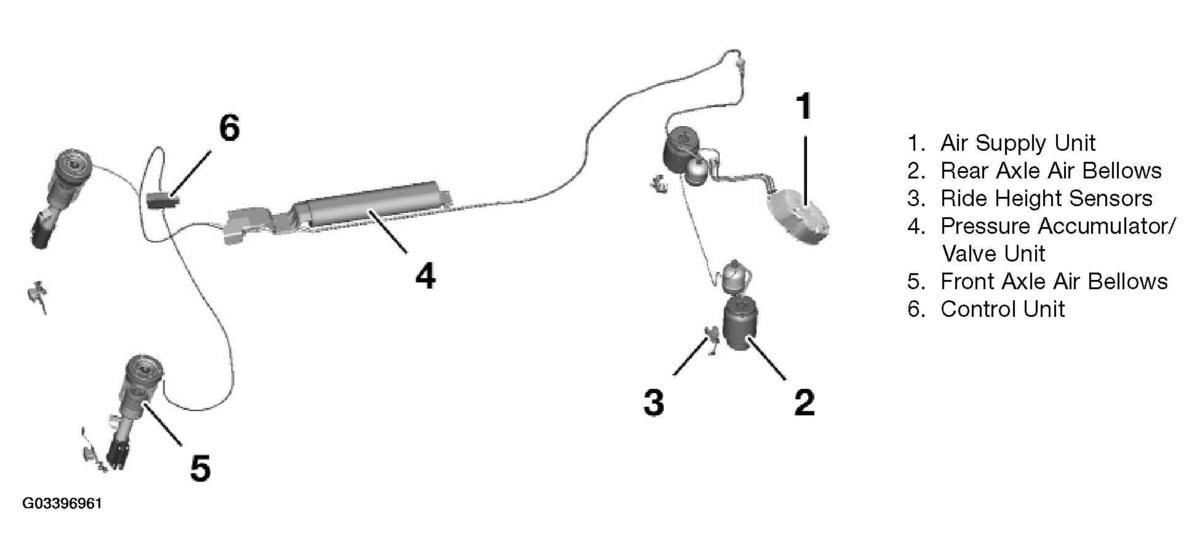
System Components: Notes

The X5 Two Axle Air Suspension System (EHC2) utilizes the air supply unit from EHC mounted in the luggage compartment, with the following components added or modified: