LEMON Manuals: Even more car manuals for everyone: 1960-2025
Home >> BMW >> 2004 >> 330xi Automatic >> Repair and Diagnosis >> Body & Frame >> Windows >> General Electrical System - Repair >> Plug Connection Time >> 61 13... Repairing ribbon cables >> Special tools required:
April 5, 2026: LEMON Manuals is launched! Read the announcement.

Special tools required:

Place ribbon cables (1) in connector housing (2) and close cover (3).

Fig 1: Placing Ribbon Cables In Connector Housing
G03125148Courtesy of BMW OF NORTH AMERICA, INC.

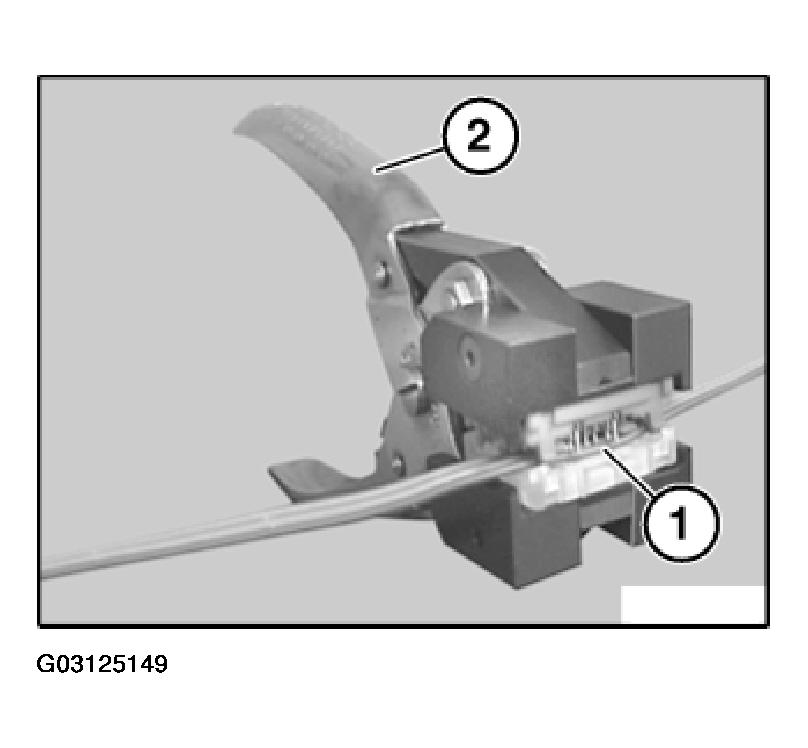
Place connector housing (1) in pliers (2) 61 1 190. Close pliers (2).

Fig 2: Placing Connector Housing In Pliers
G03125149Courtesy of BMW OF NORTH AMERICA, INC.