LEMON Manuals: Even more car manuals for everyone: 1960-2025
Home >> BMW >> 2004 >> 545i Automatic >> Repair and Diagnosis >> Body & Frame >> Windows >> General Electrical System - Repair >> Plug Connection, Terminals, Fuse Box >> 61 13 ... Repairing ribbon cables
April 5, 2026: LEMON Manuals is launched! Read the announcement.

61 13 ... Repairing ribbon cables

NOTE:

For Special Tool identification, see GENERAL ELECTRICAL SYSTEM - SPECIAL TOOLS - 5 - SERIES (E60) .

Special Tools Required: 

Place ribbon cables (1) in connector housing (2) and close cover (3).

Fig 1: Installing Ribbon Cables In Connector Housing
G03271525Courtesy of BMW OF NORTH AMERICA, INC.

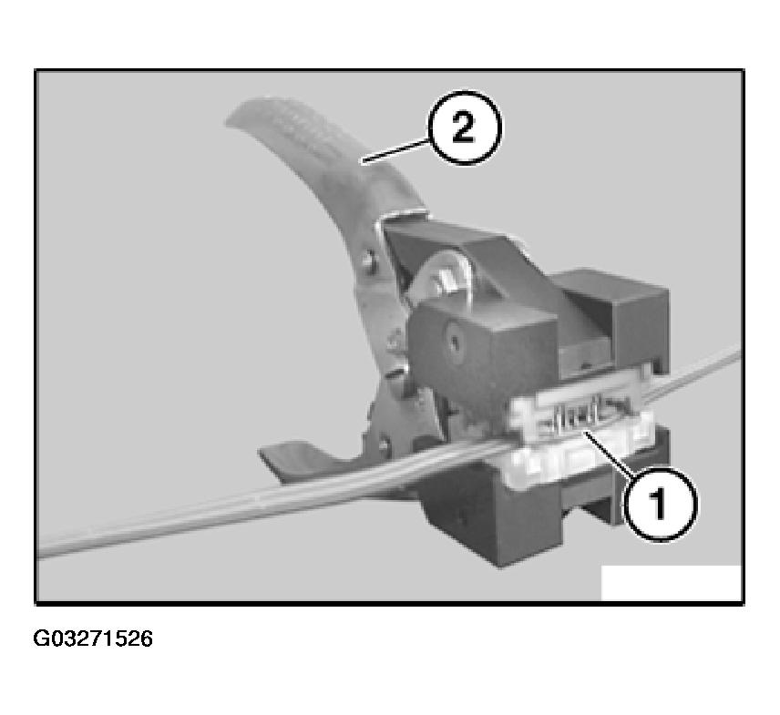
Place connector housing (1) in pliers (2) 61 1 190.

Close pliers (2).

Fig 2: View Of Connector Housing In Pliers
G03271526Courtesy of BMW OF NORTH AMERICA, INC.