LEMON Manuals: Even more car manuals for everyone: 1960-2025
Home >> BMW >> 2004 >> 760Li >> Repair and Diagnosis (Single Page) >> Steering >> Manual Steering >> Steering And Wheel Alignment - Repair >> 41 Pump And Oil Supply >> 32 41... Notes On Hydraulic Line With Quick-Release Coupling
April 5, 2026: LEMON Manuals is launched! Read the announcement.

32 41... Notes On Hydraulic Line With Quick-Release Coupling

  1. Quick-Release Coupling With ID Marking: 
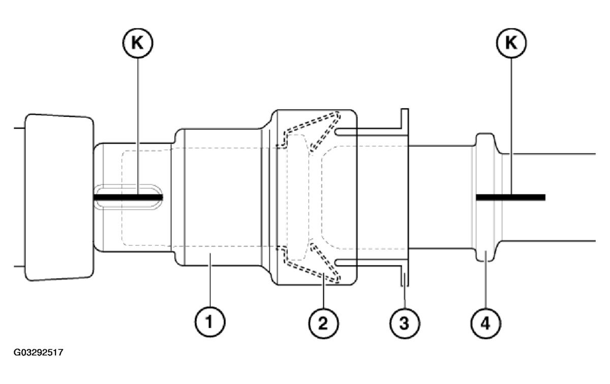
    Fig 1: Quick-Release Coupling Components And ID Markings
    G03292517Courtesy of BMW OF NORTH AMERICA, INC.

    Removing: 

    Push quick-release coupling (1) against pipe (4) (thereby relieving strain on spring (2)).

    Press plastic ring (3) into quick-release coupling (1) and remove coupling (1).

    Assembly: 

    Markings (K) on coupling (1) and pipe (4) must be flush.

    Push quick-release coupling (1) onto pipe (4) until a "click" can clearly be heard.

    To check that quick-release coupling (1) has been installed correctly, pull it back forcefully.

  2. Quick-Release Coupling With Indication Pins: 
    Fig 2: Quick-Release Coupling Components And Indication Pins
    G03292518Courtesy of BMW OF NORTH AMERICA, INC.

Removing: 

Press plastic ring (2) into quick-release coupling (1) and remove coupling (1).

Assembly: 

Push quick-release coupling (1) onto connector (3) until both indication pins (4) can be seen and felt to point outwards at outside diameter of housing.

To check that quick-release coupling (1) has been correctly fitted, feel indication pins (4) at outside diameter of housing. When correctly seated, indication pins (4) cannot be pressed into housing.

IMPORTANT: Coupling is not correctly engaged if both indication pins (4) fail to protrude from housing. Leakage is thus unavoidable.