LEMON Manuals: Even more car manuals for everyone: 1960-2025
Home >> BMW >> 2007 >> X3 Automatic >> Repair and Diagnosis (Single Page) >> Collision >> Dimensions >> Collision - Body Panel Repair (E83) >> 00 Body Panel Repair General Information >> 41 00... Welding In Reinforcement Plate (Steel Plate)
April 5, 2026: LEMON Manuals is launched! Read the announcement.

41 00... Welding In Reinforcement Plate (Steel Plate)

In the case of a partial replacement piece, a body component is cut at a point described in the repair instructions.

A reinforcement plate is welded in to ensure sufficient strength.

Follow notes for welding steel parts, see 41 00... Welding and soldering steel parts .

NOTE: The following illustrations serve as general illustrations of reinforcement plate repair work. They are applicable to all cutting repairs.

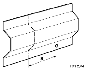
Mark component in accordance with distance A and cut.

Fig 1: Welding In Reinforcement Plate - Mark Component In Accordance With Distance And Cut
G04726787Courtesy of BMW OF NORTH AMERICA, INC.

Cut new part (1) in accordance with cut and if necessary adjust to fit with straightening attachment or universal mount.

Installation: 

Adhere to a gap at severance cut of approx. one to max. two material thicknesses in order to ensure welding with the reinforcement plate and to facilitate a more tolerant fit.

Fig 2: Welding In Reinforcement Plate - Cut Part
G04726788Courtesy of BMW OF NORTH AMERICA, INC.

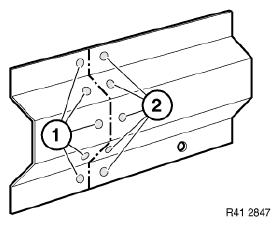
Clean inner and outer sides of connecting areas (1) on new part and (2) on body.

Coat inner sides with welding primer.

Fig 3: Welding In Reinforcement Plate - Areas Part And Body
G04726789Courtesy of BMW OF NORTH AMERICA, INC.

Drill holes (1) and (2) at distance of 25 mm to each other.

Hole diameter approx. 8 mm.

Fig 4: Welding In Reinforcement Plate - Drill Holes
G04726790Courtesy of BMW OF NORTH AMERICA, INC.

Make reinforcement plate (1) from trim of new part.

If necessary, make further reinforcement plates.

Length of reinforcement plates is min. 40 mm.

Coat reinforcement plates (1) and (2) on both sides with welding primer.

Fig 5: Welding In Reinforcement Plate
G04726791Courtesy of BMW OF NORTH AMERICA, INC.

Push reinforcement plate (1) into component on body up to half way and plug-weld (3).

Fig 6: Reinforcement Plate And Welding Primer
G04726792Courtesy of BMW OF NORTH AMERICA, INC.

If necessary, adjust new part (1) to fit with straightening attachment or universal mount and plug-weld (2).

MAG weld joint (3).

Grind and clean weld seam and plug weld spots.

Only visible areas of the outer skin and worn areas on the support carrier must be tinned.

All areas which have covers on the vehicle are not to be tinned.

NOTE: Only applicable within the European Union!

European used-car regulations prohibit the use of tin containing lead in motor vehicles introduced after 01.07.2003!

Fig 7: MAG Weld Joint And Plug-weld
G04726793Courtesy of BMW OF NORTH AMERICA, INC.