LEMON Manuals: Even more car manuals for everyone: 1960-2025
Home >> BMW >> 2007 >> X3 Standard >> Repair and Diagnosis (Single Page) >> Transmission >> Transfer Case >> Transfer Case - Overview (X-Drive) >> System Components >> Transfer Case Electronic Control Unit
April 5, 2026: LEMON Manuals is launched! Read the announcement.

Transfer Case Electronic Control Unit

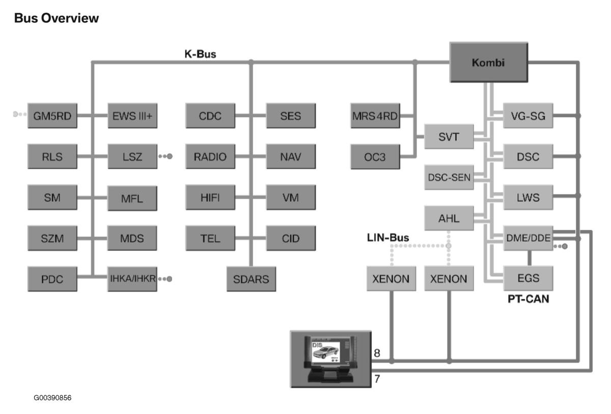
The transfer case control unit (VGSG) is installed in the X3 on the rear floor panel under the luggage compartment trim. In X5, it is located underneath the rear bench seat on the left. See Fig 1 . The transfer case control unit (VGSG) is on the PT-CAN Bus. VGSG shares information with DSC for overall xDrive control and has diagnostic communication via the OBD connector. See Fig 2 and Fig 3 .

Fig 1: Identifying Transfer Case Electronic Control Unit
G00390863Courtesy of BMW OF NORTH AMERICA, INC.
Fig 2: Transfer Case Bus Overview
G00390856Courtesy of BMW OF NORTH AMERICA, INC.
Fig 3: Transfer Case Inputs, Processing & Outputs
G00390857Courtesy of BMW OF NORTH AMERICA, INC.