LEMON Manuals: Even more car manuals for everyone: 1960-2025
Home >> BMW >> 2012 >> 335is 2D Convertible, Standard Trans >> Repair and Diagnosis (Single Page) >> Collision >> General Collision Information >> Collision - Body Panel Repair (E93) Convertible >> Body Panel Repair General Information >> 41 00... Welding In Reinforcement Plate (Sheet Steel)
April 5, 2026: LEMON Manuals is launched! Read the announcement.

41 00... Welding In Reinforcement Plate (Sheet Steel)

In the case of a partial replacement piece, a body component is cut at a point described in the repair instructions.

A reinforcement plate is welded in to ensure sufficient strength.

Follow notes for welding steel components.

NOTE: The following graphics serve as general illustrations of reinforcement plate repair work. They are applicable to all sectional repairs.

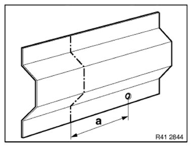
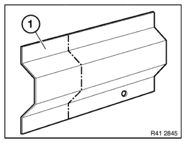
Mark component in accordance with dimension A and cut.

Fig 1: Identifying Reinforcement Plate Cutting Dimension
G09861115Courtesy of BMW OF NORTH AMERICA, INC.

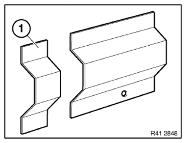
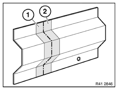
Cut new part (1) in accordance with cut and if necessary adjust to fit with alignment bracket or universal mount.

Installation note: 

Maintain a distance of approximately one to no more than two material thicknesses at the severance cut to ensure welding with the reinforcement metal and enable more tolerant adjustment.

Fig 2: Identifying Reinforcement Plate Cutting Position
G09861116Courtesy of BMW OF NORTH AMERICA, INC.

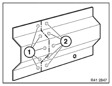
Clean inner and outer sides of connection faces (1) on new part and (2) on body.

Coat insides with welding primer.

Fig 3: Identifying Reinforcement Plate Inner And Outer Sides Of Connection Faces
G09861117Courtesy of BMW OF NORTH AMERICA, INC.

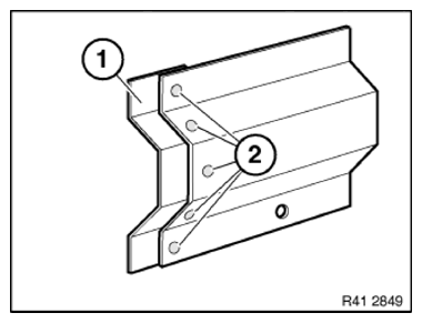
Drill bore holes (1) and (2) at distance of 25 mm to each other.

Hole diameter approx. 8 mm.

Fig 4: Identifying Reinforcement Plate Bore Holes Drilling Area
G09861118Courtesy of BMW OF NORTH AMERICA, INC.

Make reinforcement plate (1) from trim of new part.

If applicable, produce more reinforcement plates.

Length of reinforcement plates is min. 40 mm.

Coat reinforcement plates (1) and (2) on both sides with welding primer.

Fig 5: Identifying Reinforcement Plates
G09861119Courtesy of BMW OF NORTH AMERICA, INC.

Push reinforcement plate (1) into component on body up to half way and plug-weld (3).

Fig 6: Identifying Reinforcement Plate And Plug-Weld
G09861120Courtesy of BMW OF NORTH AMERICA, INC.

If applicable, adjust the new part (1) with the alignment bracket or universal tool and plug-weld (2)

MAG weld the joint (3).

Grind and clean weld seam and plug weld spots.

Only visible areas of the outer skin and on the carrier support must be tinned.

All areas which have covers on the vehicle are not to be tinned.

Fig 7: Identifying MAG Weld Joint Area
G09861121Courtesy of BMW OF NORTH AMERICA, INC.
NOTE: Only applicable within the European Union!
European used-vehicle regulations prohibit the use of tin containing lead in motor vehicles introduced after 01.07.2003!