LEMON Manuals: Even more car manuals for everyone: 1960-2025
Home >> BMW >> 2012 >> 335xi Standard Trans >> Repair and Diagnosis (Single Page) >> Steering >> Power Steering >> Steering And Wheel Alignment - Repair - E92 >> Pump And Oil Supply >> 32 41... Notes On Hydraulic Line With Quick-Connect Coupling
April 5, 2026: LEMON Manuals is launched! Read the announcement.

32 41... Notes On Hydraulic Line With Quick-Connect Coupling

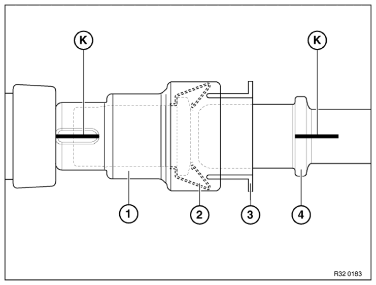
1) Quick-connect coupling with ID marking 

Fig 1: Quick-Connect Coupling With ID Marking
G09849301Courtesy of BMW OF NORTH AMERICA, INC.

Removing 

Push quick-connect coupling (1) against pipe (4) (thereby relieving strain on spring (2)).

Press plastic ring (3) into quick-connect coupling (1) and remove coupling (1).

Assembly 

Markings (K) on coupling (1) and pipe (4) must be flush.

Push quick-connect coupling (1) onto pipe (4) until a "click" can clearly be heard.

To check that quick-connect coupling (1) has been installed correctly, pull it back forcefully.

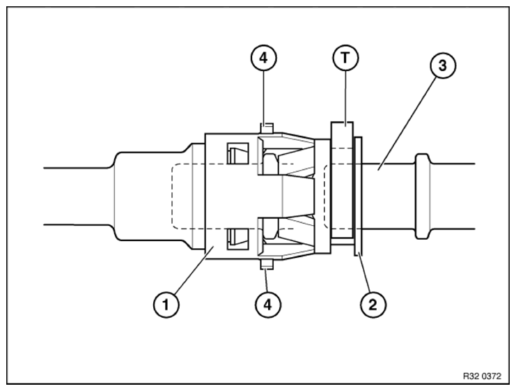
2) Quick-connect coupling with indication pins 

Fig 2: Quick-Connect Coupling With Indication Pins
G09849302Courtesy of BMW OF NORTH AMERICA, INC.

Removing 

Press plastic ring (2) into quick-connect coupling (1) and remove coupling (1).

Assembly 

When replacing hydraulic line: remove transportation lock (T).

Push quick-connect coupling (1) onto pipe (3) until both indication pins (4) can be seen and felt to point outwards at outside diameter of housing.

To check that quick-connect coupling (1) has been correctly fitted, feel indication pins (4) at outside diameter of housing. When correctly seated, indication pins (4) cannot be pressed into housing.

IMPORTANT: Coupling is not correctly engaged if both indication pins (4) fail to protrude from housing. Leakage is thus unavoidable.