LEMON Manuals: Even more car manuals for everyone: 1960-2025
Home >> BMW >> 2013 >> 740Lxi >> Repair and Diagnosis (Single Page) >> Collision >> Dimensions >> Collision - Body Panel Repair (F01, F02) (AWD) >> Body Repair General Information >> 41 00... Reinforcement Plate With Stud Bolt (Bonded) >> Preparation Of New Part
April 5, 2026: LEMON Manuals is launched! Read the announcement.

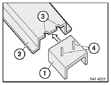
Preparation Of New Part

The reinforcement plates must if necessary be reworked and cut to size.

Adjust reinforcement plate (1) to fit in component (2) on vehicle.

Make recesses (3) for stud bolts (4) in a semicircular shape.

Diameter of recesses approx. 10 - 12 mm.

Fig 1: Fitting Reinforcement Plate Into Vehicle Components
G08510782Courtesy of BMW OF NORTH AMERICA, INC.

Secure reinforcement plate by screwing on lock nuts (1).

Fit new part (2). Make recesses (3) in new part in a semicircular shape.

Diameter of recesses approx. 10 - 12 mm.

Remove reinforcement plate again.

Fig 2: Inserting Reinforcement Plate Into Frame
G08510783Courtesy of BMW OF NORTH AMERICA, INC.
NOTE: Width of joint between new part and component on vehicle approx. 5 - 8 mm (at least 30 mm flange width per side).

Plastic nuts should be screwed on once before applying adhesive (no thread in new plastic nut)!

Chamfer cutting edges (1) on joint by grinding.

  1. (2) Component on vehicle
  2. (3) New part
Fig 3: Identifying Chamfer Cutting Edges And Vehicle Components
G08510784Courtesy of BMW OF NORTH AMERICA, INC.
IMPORTANT: Do not grind new part and body in area of bonding surfaces.