LEMON Manuals: Even more car manuals for everyone: 1960-2025
Home >> BMW >> 2013 >> 750xi >> Repair and Diagnosis (Single Page) >> Collision >> Dimensions >> Collision - Body Panel Repair (F01, F02) (AWD) >> Body Repair General Information >> 41 00... Reinforcement Plate With Stud Bolt (Bonded) >> Procedure For Using Universal Reinforcement Plate
April 5, 2026: LEMON Manuals is launched! Read the announcement.

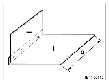
Procedure For Using Universal Reinforcement Plate

The universal reinforcement plate needs to be adapted. The plate must be divided if the distance between the pins is too great.

Dimension a is between 40 and 80 mm depending on the space available.

Secure plates with N4 punch rivets.

Fig 1: Identifying Universal Reinforcement Plate Dimension
G08510785Courtesy of BMW OF NORTH AMERICA, INC.
NOTE: Ensure the rivet is positioned correctly!
Rivet head is on the adhesion side!

Rivet the plate to the inside of the flange!