LEMON Manuals: Even more car manuals for everyone: 1960-2025
Home >> BMW >> 2013 >> M3 2D Convertible, Standard Trans >> Repair and Diagnosis (Single Page) >> Accessories & Equipment >> Wiper/Washer Systems >> General Electrical System - Repair -- M3 Convertible >> Plug Connection, Terminal, Power Distribution Box >> 61 13... Crimping stop parts
April 5, 2026: LEMON Manuals is launched! Read the announcement.

61 13... Crimping stop parts

Special tools required: 

  1. Crimping butt connectors and contact sleeves for comb connectors up to 2.5 mm 
  2. Crimping butt connectors and contact sleeves for comb connectors larger than 2.5 mm 2 

    SI 2 07 05 233

  3. Crimping contact sleeves for 4 mm 2  comb connectors and ignition cable contacts 

    Use special tool kit 12 1 080 to attach ignition cable contacts and crimp 4 mm2 contact sleeves for comb connectors.

    • 12 1 081 (hand pliers)
    • 12 1 083 (nest)

    SPECIAL TOOLS FOR WIRING HARNESS REPAIRS .

    Fig 1: Attaching Ignition Cable Contacts Using Special Tool Kit 12 1 080
    G09895701Courtesy of BMW OF NORTH AMERICA, INC.

    Release special tool 12 1 081:

    Squeeze grips (1) lightly and push release lever (2) in direction of arrow.

    Or:

    Compress handles until limit position, hand pliers unlock automatically.

    Fig 2: Squeezing Grips Lightly And Push Release Lever
    G09895702Courtesy of BMW OF NORTH AMERICA, INC.

    Place 4 mm2 contact sleeve in nest with anti-twist safeguard (1) as far as possible.

    Fig 3: Placing 4 mm2 Contact Sleeve In Nest With Anti-Twist Safeguard
    G09895703Courtesy of BMW OF NORTH AMERICA, INC.

    Preload contact by squeezing matrix in crimping tool. Grip contact (1) firmly only, do not crimp.

    Fig 4: Identifying Grip Contact
    G09895704Courtesy of BMW OF NORTH AMERICA, INC.
    NOTE: Follow procedure for CUTTING AND STRIPPING INSULATION  from cables.

    Insert stripped end of wire (7) in the contact. Ensure insulation and stripped wire end are correctly laid in contact.

    Compress crimping tool to limit position.

    Crimping tool unlocks automatically.

    Take contact out of crimping tool.

    Fig 5: Inserting Stripped End Of Wire In Contact
    G09895705Courtesy of BMW OF NORTH AMERICA, INC.
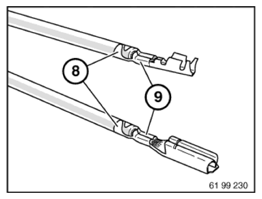
  4. Checking crimping 

    Check insulation crimping (8) and wire crimp (9) against following illustrations to ensure crimps are correctly located.

    NOTE: Illustration shows butt connectors and contact sleeves for comb connectors knocked on one side. The crimping procedure is identical here.
    Fig 6: Check Insulation Crimping And Wire Crimp
    G09895706Courtesy of BMW OF NORTH AMERICA, INC.

    Correct crimping: 

    Visible conductor end (10).

    Visible insulation end (11).

Fig 7: Identifying Visible Conductor Ends
G09895707Courtesy of BMW OF NORTH AMERICA, INC.

Incorrect crimping: 

Conductor end (10) inserted too far.

Insulation end (11) in wire crimp.

If necessary, repeat crimping with a new contact.

Fig 8: Caution For Incorrect Crimping
G09895708Courtesy of BMW OF NORTH AMERICA, INC.

Incorrect crimping: 

Conductor end (10) not visible.

Insulation end (11) not visible.

If necessary, repeat crimping with a new contact.

Fig 9: Caution For Incorrect Crimping
G09895709Courtesy of BMW OF NORTH AMERICA, INC.