LEMON Manuals: Even more car manuals for everyone: 1960-2025
Home >> BMW >> 2013 >> M3 2D Convertible, Standard Trans >> Repair and Diagnosis (Single Page) >> Electrical >> Charging Systems >> General Electrical System - Repair -- M3 Convertible >> Plug Connection, Terminal, Power Distribution Box >> 61 13... Relay carrier
April 5, 2026: LEMON Manuals is launched! Read the announcement.

61 13... Relay carrier

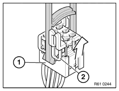
Place special tool 61 1 153 against relay carrier (1) and carefully pull in direction of arrow until the locking tabs (2) of the relay carrier are raised up.

Fig 1: Placing Special Tool 61 1 153 Against Relay Carrier
G09895761Courtesy of BMW OF NORTH AMERICA, INC.

Pull relay carrier (2) in direction of arrow into the first catch (3).

Fig 2: Pulling Relay Carrier
G09895762Courtesy of BMW OF NORTH AMERICA, INC.

Press down arrester hook (4) of corresponding contact and pull out the cable with contact.

With special tool 61 1 136 or 61 1 137 (press out) press out dual spring contacts.

Fig 3: Pressing Down Arrester Hook
G09895763Courtesy of BMW OF NORTH AMERICA, INC.