LEMON Manuals: Even more car manuals for everyone: 1960-2025
Home >> BMW >> 2013 >> M3 2D Convertible, Standard Trans >> Repair and Diagnosis (Single Page) >> Suspension >> Wheel Alignment >> Steering And Wheel Alignment - Repair -- M3 Convertible >> Electronic Chassis Alignment >> 32 00... General information and definitions
April 5, 2026: LEMON Manuals is launched! Read the announcement.

32 00... General information and definitions

Toe angle difference 

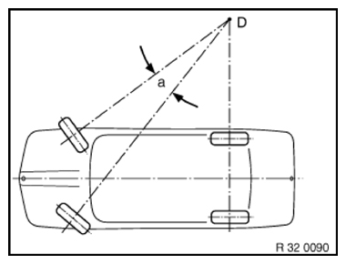
a Toe difference angle

D Center point of operating circle

The toe angle difference is the angle adjustment of the inner cornering wheel relative to the outer cornering wheel when negotiating a curve. Steering is designed in such a way that angular position of wheels changes as steering lock progresses.

A correctly adjusted toe angle difference produces equal values for left and right lock with consideration of factory tolerances.

Toe angle difference provides information on corresponding operation of steering trapezoid for left or right steering lock from center position.

Fig 1: Checking Toe Angle Difference
G09892418Courtesy of BMW OF NORTH AMERICA, INC.

Camber 

Inclination of the wheel from the perpendicular.

Fig 2: Checking Camber
G09892419Courtesy of BMW OF NORTH AMERICA, INC.

Toe 

Reduction in distance of front of front wheels to rear of front wheels. The toe-in prevents the wheels from moving apart during driving and thus:

Measurement is performed in "straight-ahead mode".

Fig 3: Checking Toe (In And Out)
G09892420Courtesy of BMW OF NORTH AMERICA, INC.

Castor 

Is the inclination of the kingpin in the direction of travel viewed from the side. The line through the center point of the spring strut support bearing and the control arm ball joint corresponds to the "kingpin".

Thanks to caster, wheels are pulled and not pushed. In a similar manner to king pin inclination, when driving in curves or around corners, returning forces are reproduced to help return wheels to straight-ahead position.

Fig 4: Checking Castor
G09892421Courtesy of BMW OF NORTH AMERICA, INC.

Geometrical driving axis 1 

Is the angle bisector from the total rear-wheel toe.

Front-wheel measurements are taken in reference to this axis.

Symmetrical axis 2 

Center line running through front and rear axles.

Fig 5: Checking Geometrical Driving Axis 1
G09892422Courtesy of BMW OF NORTH AMERICA, INC.

Wheel misalignment 

Angle by which one front wheel is displaced more towards front or rear than the other front wheel. The wheel offset angle is positive when the right wheel is displaced towards the front and negative when it is displaced towards the rear.

Fig 6: Checking Wheel Misalignment
G09892423Courtesy of BMW OF NORTH AMERICA, INC.

Kingpin offset/scrub radius 

Is the distance from the center of the wheel contact face to the intersection point of the kingpin extension. The line through the center point of the spring strut support bearing and the control arm ball joint corresponds to the "kingpin".

The scrub radius is influenced by camber, kingpin angle and wheel offset of the wheel rim.

Fig 7: Checking Kingpin Offset/Scrub Radius
G09892424Courtesy of BMW OF NORTH AMERICA, INC.