LEMON Manuals: Even more car manuals for everyone: 1960-2025
Home >> BMW >> 2013 >> X5 M >> Repair and Diagnosis >> Accessories & Equipment >> Memory Modules >> General Electrical System - Repair >> Plug Connection, Terminal, Fuse Box >> 61 13... Crimping stop parts >> 4. Checking crimping
April 5, 2026: LEMON Manuals is launched! Read the announcement.

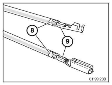
4. Checking crimping

Check insulation crimping (8) and wire crimp (9) against following illustrations to ensure crimps are correctly located.

NOTE: Illustration shows butt connectors and contact sleeves for comb connectors knocked on one side. The crimping procedure is identical here.
Fig 1: Checking Insulation Crimping And Wire Crimp
G08530344Courtesy of BMW OF NORTH AMERICA, INC.

Correct crimping: 

Visible conductor end (10).

Visible insulation end (11).

Fig 2: Identifying Visible Conductor End And Visible Insulation End
G08530345Courtesy of BMW OF NORTH AMERICA, INC.

Incorrect crimping: 

Conductor end (10) inserted too far.

Insulation end (11) in wire crimp.

If necessary, repeat crimping with a new contact.

Fig 3: Identifying Incorrect Crimping (Conductor End Inserted Too Far)
G08530346Courtesy of BMW OF NORTH AMERICA, INC.

Incorrect crimping: 

Conductor end (10) not visible.

Insulation end (11) not visible.

If necessary, repeat crimping with a new contact.

Fig 4: Identifying Incorrect Crimping (Conductor End Not Visible)
G08530347Courtesy of BMW OF NORTH AMERICA, INC.