LEMON Manuals: Even more car manuals for everyone: 1960-2025
Home >> BMW >> 2013 >> X6 M >> Repair and Diagnosis >> Body & Frame >> Windows >> General Electrical System - Repair >> Plug Connection, Terminal, Fuse Box >> 61 13... Opening plug housings and removing contacts of different plug systems >> 61 13... In-line plugs, 2-pin, System JPT ELA
April 5, 2026: LEMON Manuals is launched! Read the announcement.

61 13... In-line plugs, 2-pin, System JPT ELA

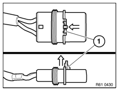
Press lock (1) in direction of arrow and slide connector forward.

Fig 1: Pressing Connector Lock
G08560666Courtesy of BMW OF NORTH AMERICA, INC.

Press lock (1) downward and slide out to one side.

Fig 2: Removing Connector Lock
G08560667Courtesy of BMW OF NORTH AMERICA, INC.

Unlock contact with special tool 61 1 136 and pull out cable (1) and contact towards rear.

Fig 3: Pulling Out Cable Using Special Tool (61 1 136)
G08560668Courtesy of BMW OF NORTH AMERICA, INC.