LEMON Manuals: Even more car manuals for everyone: 1960-2025
Home >> BMW >> 2015 >> i3 Range Extender >> Repair and Diagnosis (Single Page) >> Collision >> Body Panels >> Collision - Body Panel Repair (I01) >> Body Repair General Information >> 41 00... Sectional Repair Of Extruded Aluminium Sections With Repair Elements
April 5, 2026: LEMON Manuals is launched! Read the announcement.

41 00... Sectional Repair Of Extruded Aluminium Sections With Repair Elements

In the case of a partial replacement, an extruded aluminium section is cut at a point described in the repair instructions.

The following operations are a schematic diagram.

Mark component in accordance with dimension A and cut.

Deburr cutting edge.

G05503174Courtesy of BMW OF NORTH AMERICA, INC.

Mark new part in accordance with severance cut on vehicle and cut.

Deburr cutting edge.

Adjust new part to fit without gaps using alignment square or universal mount.

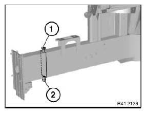
Drill holes in the center, the top (1) and the bottom (2) cut edges.

Hole diameter 10 mm.

NOTE: The inner surfaces of the section cavities must be smooth. They must not have any protrusions.
G05503175Courtesy of BMW OF NORTH AMERICA, INC.

Clean inner surfaces with R1 cleaning agent.

Screw bolts (2) into repair inserts (1).

Clean repair elements (1) with R1 cleaning agent.

Apply ADHESIVE  to repair inserts (1).

G05503176Courtesy of BMW OF NORTH AMERICA, INC.

Push repair inserts (1) into the upper and lower section cavities on the body.

G05503177Courtesy of BMW OF NORTH AMERICA, INC.

Slide new part over repair inserts and adjust to fit using alignment square or universal bracket.

Expand repair inserts using bolts (1) and (2) until the surface in the area of the bolts (1) and (2) is slightly raised.

Drill holes for blind rivets with a dia. of 6.8 mm only after the repair elements have spread. Mount blind rivets. Refer to the individual repair instructions for the of the number of blind rivets.

G05503178Courtesy of BMW OF NORTH AMERICA, INC.

Unless a different procedure is described in the individual repair instructions, remove screws (1) and (2) only after hardening of adhesive.

Seal separation points, bore holes and blind rivet heads with SEALANT D1 .