LEMON Manuals: Even more car manuals for everyone: 1960-2025
Home >> BMW >> 2017 >> M6 2D Convertible, Standard Trans >> Repair and Diagnosis (Single Page) >> Collision >> Dimensions >> Collision - Body Panel Repair (F12) Convertible >> Body Repair General Information >> 51 00... Service Position Of Soft Top Compartment Lid
April 5, 2026: LEMON Manuals is launched! Read the announcement.

51 00... Service Position Of Soft Top Compartment Lid

Special tools required: 

WARNING: Danger of injury by trapping!

Fully open soft top compartment lid (1) as shown.

Removing hydraulic cylinder at top right or left as follows:

Fig 1: Identifying Soft Top Compartment Lid
G10039925Courtesy of BMW OF NORTH AMERICA, INC.
IMPORTANT: Never lift off ball socket with engaged clamp.
Before installation, grease ball socket if necessary.

Installation note: 

Pack grease into two opposite positions in socket.

The grease spreads after installation on the ball pin all round in the ball socket.

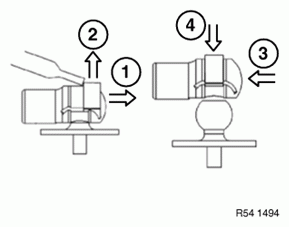
Dismantling/installing ball sockets: 

  1. Push on clamp in direction of groove with screwdriver
  2. Lift off ball socket from ball pin
  3. Slide clamp back
  4. Fit ball socket on ball stud and snap into place with force
    Fig 2: Installing Ball Sockets
    G06177394Courtesy of BMW OF NORTH AMERICA, INC.

Remove ball head (1) as described above.

Fig 3: Identifying Ball Head
G10039927Courtesy of BMW OF NORTH AMERICA, INC.
  1. Place special tool 54 3 120 in convertible top frame.
  2. clamp ball socket of special tool on ball stud.
NOTE: If necessary, remove second hydraulic cylinder at top right or left.
Fig 4: Placing Special Tool 54 3 120 In Convertible Top Frame
G04781203Courtesy of BMW OF NORTH AMERICA, INC.