LEMON Manuals: Even more car manuals for everyone: 1960-2025
Home >> BMW >> 2018 >> M6 Standard Trans >> Repair and Diagnosis (Single Page) >> Accessories & Equipment >> Memory Modules >> General Electrical System - Repair - F12 >> Plug Connection, Terminal, Power Distribution Box >> 61 13... Crimping stop parts
April 5, 2026: LEMON Manuals is launched! Read the announcement.

61 13... Crimping stop parts

Special tools required: 

Spare parts for in-car electronics (housing and contacts): 

  1. Crimping butt connectors and contact sleeves for comb connectors up to 2.5 mm 
  2. Crimping butt connectors and contact sleeves for comb connectors larger than 2.5 mm 2 
  3. Crimping contact sleeves for 4 mm 2  comb connectors and ignition cable contacts 

    Use special tool kit 12 1 080 to attach ignition cable contacts and crimp 4 mm2 contact sleeves for comb connectors.

    See repair instructions 

    Special tools for wiring harness repairs.

    Fig 1: Identifying Hand Pliers And Nest
    G04727469Courtesy of BMW OF NORTH AMERICA, INC.

    Release special tool 12 1 081 :

    Squeeze grips (1) lightly and push release lever (2) in direction of arrow.

    Or:

    Compress handles until limit position, hand pliers unlock automatically.

    Fig 2: Releasing Special Tool (12 1 081)
    G04727470Courtesy of BMW OF NORTH AMERICA, INC.

    Place 4 mm2 contact sleeve in nest with anti-twist safeguard (1) as far as possible.

    Fig 3: Locating Anti Twist Safeguard
    G04727471Courtesy of BMW OF NORTH AMERICA, INC.

    Preload contact by squeezing matrix in crimping tool. Grip contact (1) firmly only, do not crimp.

    Fig 4: Pressing Matrix In Crimping Tool
    G04727472Courtesy of BMW OF NORTH AMERICA, INC.
    NOTE: Follow procedure for cutting and stripping insulation from cables.

    Insert stripped end of wire (7) in the contact. Ensure insulation and stripped wire end are correctly laid in contact.

    Compress crimping tool to limit position.

    Crimping tool unlocks automatically.

    Take contact out of crimping tool.

    Fig 5: Identifying Wire Stripped End
    G04727473Courtesy of BMW OF NORTH AMERICA, INC.
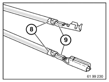
  4. Checking crimping 

    Check insulation crimping (8) and wire crimp (9) against following illustrations to ensure crimps are correctly located.

    NOTE: Illustration shows butt connectors and contact sleeves for comb connectors knocked on one side. The crimping procedure is identical here.
    Fig 6: Identifying Insulation Crimping And Wire Crimp
    G10048047Courtesy of BMW OF NORTH AMERICA, INC.

    Correct crimping: 

    Visible conductor end (10).

    Visible insulation end (11).

    Fig 7: Identifying Conductor And Insulation End
    G04727475Courtesy of BMW OF NORTH AMERICA, INC.

    Incorrect crimping: 

    Conductor end (10) inserted too far.

    Insulation end (11) in wire crimp.

    If necessary, repeat crimping with a new contact.

    Fig 8: Identifying Wire Crimping End (Incorrect Crimping)
    G04727476Courtesy of BMW OF NORTH AMERICA, INC.

    Incorrect crimping: 

    Conductor end (10) not visible.

    Insulation end (11) not visible.

    If necessary, repeat crimping with a new contact.

    Fig 9: Identifying Wire Crimping End (Incorrect Crimping)
    G04727477Courtesy of BMW OF NORTH AMERICA, INC.


Special tools required: 

Necessary preliminary work: 

Special tools for wiring harness repair.

New part for vehicle electrical system (stops and housing):

  1. Crimping of NanoMQS stops (only G11; G12) 

    Crimping of NanoMQS contacts (MQS).

    • Special tool handle 0 494 159 or 0 496 849
    • Special tool (die-plate) 0 496 833
    • Stripping tool 2 407 379
  2. Crimping of stops up to 2.5 mm 2 

    Crimping MICRO QUADLOCK SYSTEM CONTACTS (MQS) .

    Crimping MICRO POWER QUADLOCK CONTACTS (MPQ) .

    Crimping miscellaneous stop parts up to 2.5 mm2

    • Special tool 61 4 340 (up to 03/2010 SWZ 61 4 328)
  3. Crimping of stops above 2.5 mm 2 

    Crimping load current contacts (LSK 8).

    Crimping SLK 2.8.

    Special tool 61 0 220

    Crimping double spring contact (DFK 40)

    Crimping MAK 8

Checking crimping 

Check insulation crimping (8) and wire crimp (9) against following illustrations to ensure crimps are correctly located.

NOTE: Illustration shows butt connectors and contact sleeves for comb connectors knocked on one side. The crimping procedure is identical here.
Fig 1: Identifying Wire Crimp Area
G04727474Courtesy of BMW OF NORTH AMERICA, INC.

Correct crimping: 

Visible conductor end (10).

Visible insulation end (11).

Fig 2: Identifying Conductor And Insulation End
G04727475Courtesy of BMW OF NORTH AMERICA, INC.

Incorrect crimping: 

Conductor end (10) inserted too far.

Insulation end (11) in wire crimp.

If necessary, repeat crimping with a new contact.

Fig 3: Identifying Wire Crimping End (Incorrect Crimping)
G04727476Courtesy of BMW OF NORTH AMERICA, INC.

Incorrect crimping: 

Conductor end (10) not visible.

Insulation end (11) not visible.

If necessary, repeat crimping with a new contact.

Fig 4: Identifying Wire Crimping End
G04727477Courtesy of BMW OF NORTH AMERICA, INC.