LEMON Manuals: Even more car manuals for everyone: 1960-2025
Home >> Buick >> 1980 >> Skyhawk Base, Standard Trans >> Repair and Diagnosis >> Engine Performance >> Engine Control Systems >> Computer Controlled Catalytic Converter System C-4 >> Operation >> Electronic Control Module (ECM)
April 5, 2026: LEMON Manuals is launched! Read the announcement.

Electronic Control Module (ECM)

The Electronic Control Module (ECM) reads the voltage signal from the oxygen sensor. In response, it sends a proportionate signal to the carburetor solenoid, which creates either a lean or rich mixture, as required. A high voltage signal from the oxygen sensor causes the ECM to send a similar signal to the carburetor solenoid to energize it. A leaner mixture results. The signal which is sent from the ECM to the carburetor solenoid is also modified by inputs from other engine sensors, which include vacuum switches, an engine coolant sensor and a throttle position sensor.

The ECM also contains a "memory" system which stores an average set of operating conditions with the ideal air/fuel ratio for those conditions. If any settings change from these stored conditions (as determined by engine sensors), the ECM will make necessary adjustments to bring engine back to the "ideal" set of conditions.

Before the ECM can begin governing the air/fuel ratio, it is important to note that a minimum of 10 seconds must have elapsed after startup before any C-4 operation begins, engine coolant temperature must be above 90°F, and the oxygen sensor must be sufficiently warm and putting out sufficient voltage before the ECM can react. During cold engine startup, the ECM is off-line and a fixed carburetor condition is maintained until proper warmup occurs.

Fig 1: Layout of Typical C-4 System Showing Engine and Instrument Panel Component Locations
G09339824Courtesy of GENERAL MOTORS COMPANY
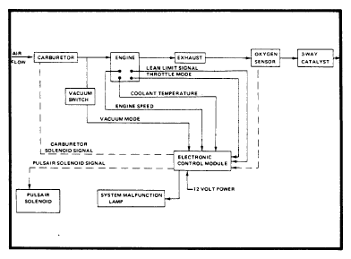
Fig 2: Typical C-4 Flow Diagram Showing Operating Relationships
G09339825Courtesy of GENERAL MOTORS COMPANY