LEMON Manuals: Even more car manuals for everyone: 1960-2025
Home >> Buick >> 1992 >> Roadmaster Base >> Repair and Diagnosis >> Body & Frame >> Power Seats >> Removal & Installation >> Power Lumbar Regulator Module >> Installation
April 5, 2026: LEMON Manuals is launched! Read the announcement.

Power Lumbar Regulator Module: Installation

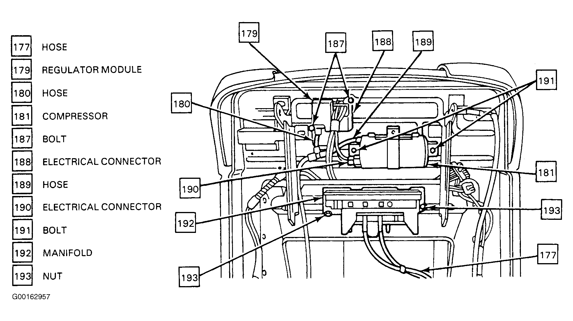
  1. Install the regulator (179). Install the bolts (187).See Figure .
  2. Connect the hose (180). Connect the electrical connector (188).See Figure .
  3. Install the passenger seat. See FRONT SEAT ASSEMBLY  .