LEMON Manuals: Even more car manuals for everyone: 1960-2025
Home >> Buick >> 1992 >> Roadmaster Base >> Repair and Diagnosis >> Engine Performance >> System >> Engine Controls - Tests W/Codes - 5.7L TBI >> Pcm/BCM Code Charts >> Code 43, ESC Error, W/ESC Module >> Diagnostic Aids
April 5, 2026: LEMON Manuals is launched! Read the announcement.

Diagnostic Aids

Code 43 can be caused by a faulty connection at knock sensor, ESC module or control module. Check controller-to-control module signal line for an open or short to ground. Check for poor connections and damaged harness. Inspect control module harness connectors for backed-out sensor signal and ECM input signal terminals, improper mating, broken locks, improperly formed or damaged terminals and damaged harness. If connections and harness are okay, monitor knock signal parameter using "Scan" tester while moving related connectors and wiring harness. If failure is induced, knock signal will abruptly change. This may help to isolate malfunction.

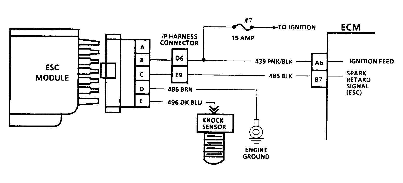
Fig 1: Code 43, Schematic, "B" Body, W/ESC Module, ESC Error
G91C07446
Fig 2: Code 43, Schematic, "D" Body, W/ESC Module, ESC Error
G91E07447
Fig 3: Code 43, Flow Chart, ESC Error, W/ESC Module
G91G07349
Fig 4: Code 43 Flow Chart
GB0021160