LEMON Manuals: Even more car manuals for everyone: 1960-2025
Home >> Buick >> 1993 >> LeSabre Custom >> Repair and Diagnosis >> Engine Performance >> System >> Engine Controls - Tests W/Codes - 3.8L >> ECM/Pcm Code Charts >> Code 31 - Park/Neutral Switch Circuit
April 5, 2026: LEMON Manuals is launched! Read the announcement.

Code 31 - Park/Neutral Switch Circuit

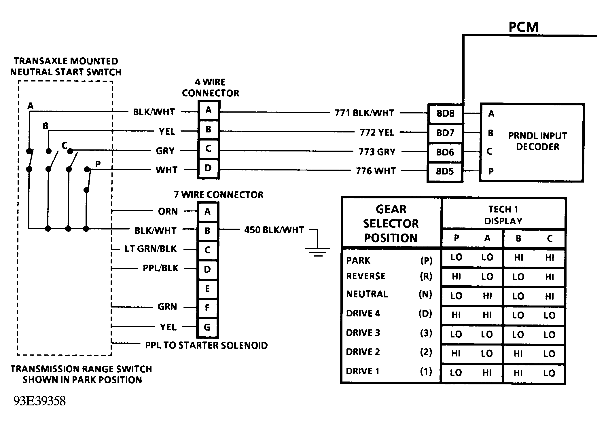
NOTE: Complete diagnosis of Code 31 for 3.8L "C", "E" and "H" body vehicles requires GM Tech 1 scan tester, which is capable of indicating status of all 4 park/neutral switch positions. This chart does not apply to 3.8L (VIN L) "C", "E" and "H" body vehicles. Schematics for these models are supplied for reference purposes only.

Park/neutral switch contacts are part of neutral start switch. Contacts close to ground in Park or Neutral and open in Drive. Code 31 will set if park/neutral signal circuit indicates an open for 3-4 consecutive starts or if conditions occur as follows:

  1. This tests for a closed switch to ground in Park.
  2. This tests for an open switch in Drive.
  3. Be sure scan tester indicates Drive, even when wiggling shifter.
    Fig 1: Code 31 Schematic (3.8L "C" & "H" Bodies) Park/Neutral Switch Circuit
    G93D39357
    Fig 2: Code 31 Schematic (3.8L "E" Body) Park/Neutral Switch Circuit
    G93E39358
    Fig 3: Code 31 Schematic (3.8L "W" Body) Park/Neutral Switch Circuit
    G93F39359
    Fig 4: Code 31 Flow Chart Park/Neutral Switch Circuit
    G91H07321