LEMON Manuals: Even more car manuals for everyone: 1960-2025
Home >> Buick >> 1994 >> Century Base, 2.2 4 >> Repair and Diagnosis >> Engine Performance >> System >> Engine Controls - Tests W/Codes - 2.2L >> ECM/Pcm Code Charts >> Code 19, Intermittent 7X Signal >> Diagnostic Aids
April 5, 2026: LEMON Manuals is launched! Read the announcement.

Diagnostic Aids

If vehicle has non-standard electrical equipment (CB radios, 2-way radios, etc.) check to see if their operation may be causing a 7X resync which may set Code 19. If a "cranks but won't start" condition has existed, code may be due to 20 attempted starts without turning off ignition switch.

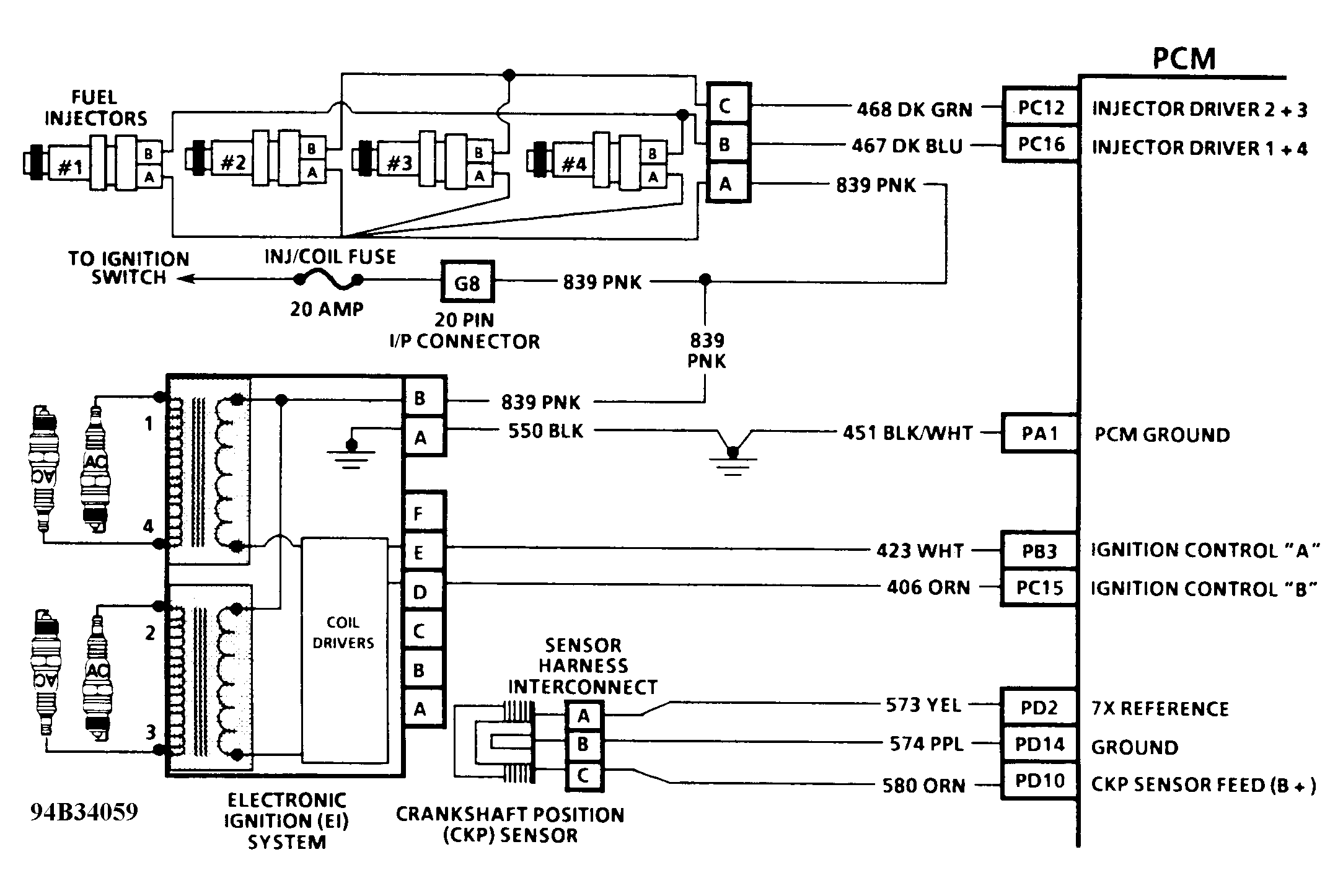
Fig 1: Code 19 Schematic (2.2L) Intermittent 7X Signal
G94B34059
Fig 2: Code 19 Flow Chart (2.2L) Intermittent 7X Signal
G93D39316