LEMON Manuals: Even more car manuals for everyone: 1960-2025
Home >> Buick >> 1994 >> Century Base, 2.2 4 >> Repair and Diagnosis >> Engine Performance >> System >> Engine Controls - Tests W/Codes - 3.1L >> ECM/Pcm Code Charts >> Code P0321, Ignition Control 24X Signal Circuit Error >> Diagnostic Aids
April 5, 2026: LEMON Manuals is launched! Read the announcement.

Diagnostic Aids

An intermittent 24X signal error can be caused by poor connections. Ignition feed, reference low and signal circuits should all be checked for poor connections.

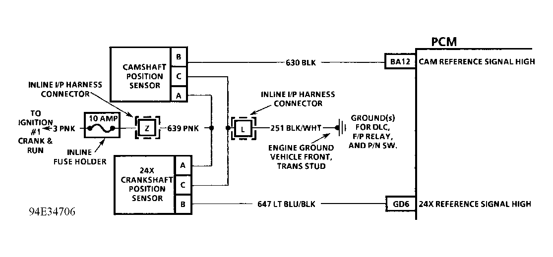
Fig 1: Code P0321 Schematic (3.1L) Ignition Control 24X Signal Circuit Error
G94E34706
Fig 2: Code P0321 Flow Chart (3.1L) Ignition Control 24X Signal Circuit Error
G94A35196
Fig 3: Code P0321, Ignition Control 24X Signal Ckt Error Flow Chart (3.1L)
GB0013020