LEMON Manuals: Even more car manuals for everyone: 1960-2025
Home >> Buick >> 1994 >> Century Base, 2.2 4 >> Repair and Diagnosis >> Engine Performance >> System >> Engine Controls - Tests W/Codes - 3.1L >> ECM/Pcm Code Charts >> Code P0705, Transaxle Range Switch >> Diagnostic Aids
April 5, 2026: LEMON Manuals is launched! Read the announcement.

Diagnostic Aids

An intermittent may be caused by a poor connection, rubbed through wire insulation or a wire broken inside the insulation. Check for:

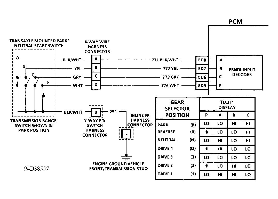
Fig 1: Code P0705 Schematic (3.1L) Transaxle Range Switch
G94D38557
Fig 2: Code P0705 Flow Chart (3.1L) Transaxle Range Switch
G94I35210