LEMON Manuals: Even more car manuals for everyone: 1960-2025
Home >> Buick >> 1996 >> Roadmaster Base >> Repair and Diagnosis >> Electrical >> Charging Systems >> Description
April 5, 2026: LEMON Manuals is launched! Read the announcement.

Charging Systems: Description

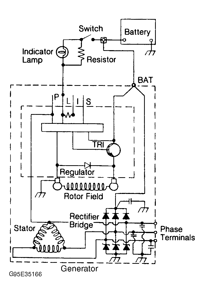
The CS130 and CS144 (Charging System) generators have a high amperage output. The 130 or 144 designation is the outside diameter of the stator laminations, measured in millimeters. CS series generators include a delta stator, rectifier bridge, and rotor with slip rings and brushes. A built-in regulator incorporates fault detection circuitry. See Fig 1. A conventional pulley and external fan are used to cool slip ring end frame, rectifier bridge and regulator.

Most CS series generators operate with 2 wire connections and a ground path through the mounting bracket. The first wire connection is the BAT (output) terminal. This terminal must be connected to the battery during operation. The second wire connection is through the charge indicator light or an external resistor to terminal "L" of the regulator. This connection provides initial excitation at start-up.

Three other regulator terminals, "P", "F/I" and "S", are provided for optional use. Terminal "P" is connected to the stator and may be connected to a tachometer. Terminal "F/I" provides an alternative method for turning on the generator without going through the charge indicator light or external resistor. Terminal "S" may be used to sense electrical system voltage at a remote point on the vehicle. If terminal "S" is not used, the regulator senses internal generator voltage.

CS series generators require no periodic maintenance. CS144 generators on 5.7L can be disassembled and repaired. All other CS130 and CS144 generators are serviced by replacement only.

Regulated voltage varies with temperature. System limits voltage by controlling rotor field current while field current is on. Regulator switches rotor field current on and off at a fixed frequency of 400 cycles per second to help control radio noise. By varying overall on/off time, correct average field current for proper system voltage control is obtained. At high speeds, with lower electrical loads, on-time may be 10 percent of off-time. At low speeds, with higher electrical loads, on-time may be 90 percent of off-time. See the GENERATOR USAGE/AMP OUTPUT RATING  table.

Fig 1: Charging System Schematic CS130 Series (Caprice, Impala SS & Roadmaster)
G95D35165Courtesy of GENERAL MOTORS CORP.
Fig 2: Charging System Schematic CS144 Series (Caprice, Impala SS & Roadmaster)
G95E35166Courtesy of GENERAL MOTORS CORP.