LEMON Manuals: Even more car manuals for everyone: 1960-2025
Home >> Buick >> 2003 >> Century Custom >> Repair and Diagnosis (Single Page) >> Quick Lookups >> Wiring Diagrams >> OEM Connector End Views >> Connector End Views >> Identifying Passenger-side Air Bag Module Connector End View
April 5, 2026: LEMON Manuals is launched! Read the announcement.

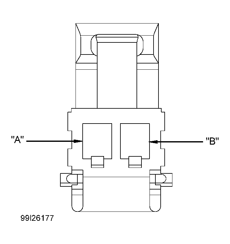
Identifying Passenger-side Air Bag Module Connector End View

Fig 1: Identifying Passenger-side Air Bag Module Connector End View
G99I26177Courtesy of GENERAL MOTORS CORP.