LEMON Manuals: Even more car manuals for everyone: 1960-2025
Home >> Buick >> 2007 >> LaCrosse V6-3.6L >> Repair and Diagnosis >> Diagrams >> Connector Views >> Engine Control Module
April 5, 2026: LEMON Manuals is launched! Read the announcement.

Engine Control Module



Engine Control Module Connector End Views

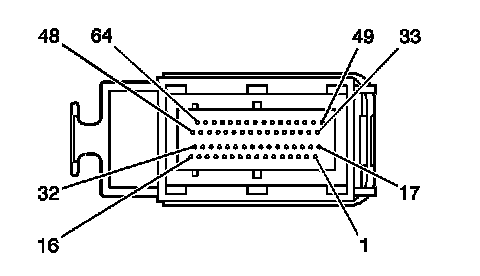
Engine Control Module (ECM) C1









Engine Control Module (ECM) C1 (Pin 1 To 29):





Engine Control Module (ECM) C1 (Pin 30 To 64):






Engine Control Module (ECM) C2









Engine Control Module (ECM) C2 (Pin 1 To 31):





Engine Control Module (ECM) C2 (Pin 32 To 64):