LEMON Manuals: Even more car manuals for everyone: 1960-2025
Home >> Buick >> 2007 >> Lucerne V6-3.8L >> Repair and Diagnosis >> Diagrams >> Connector Views >> Engine Control Module
April 5, 2026: LEMON Manuals is launched! Read the announcement.

Engine Control Module



Powertrain Control Module Connector End Views

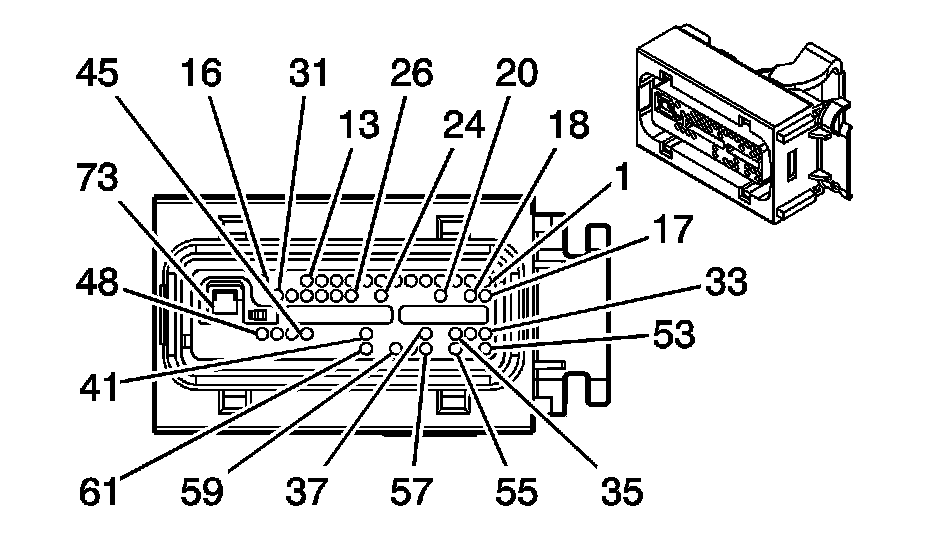
Powertrain Control Module (PCM) C1









Powertrain Control Module (PCM) C1 (Pin 1 To 25):





Powertrain Control Module (PCM) C1 (Pin 26 To 56):






Powertrain Control Module (PCM) C2









Powertrain Control Module (PCM) C2 (Pin 1 To 27):





Powertrain Control Module (PCM) C2 (Pin 28 To 73):






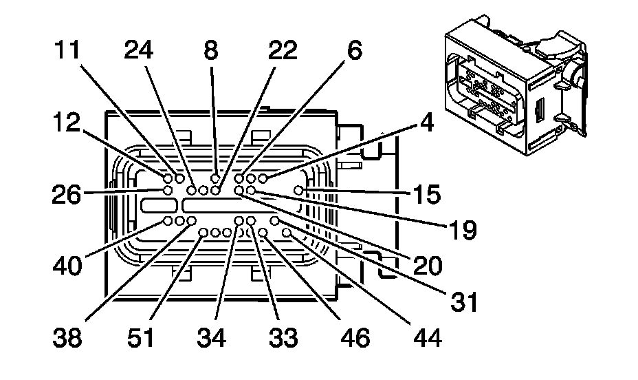
Powertrain Control Module (PCM) C3









Powertrain Control Module (PCM) C3 (Pin 1 To 26):





Powertrain Control Module (PCM) C3 (Pin 27 To 56):