LEMON Manuals: Even more car manuals for everyone: 1960-2025
Home >> Buick >> 2007 >> Rainier AWD L6-4.2L >> Repair and Diagnosis >> Powertrain Management >> Relays and Modules - Powertrain Management >> Relays and Modules - Computers and Control Systems >> Engine Control Module >> Diagrams >> Connector Views
April 5, 2026: LEMON Manuals is launched! Read the announcement.

Connector Views



Powertrain Control Module Connector End Views

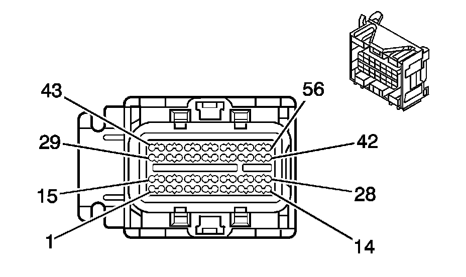
Powertrain Control Module (PCM) C1









Powertrain Control Module (PCM) C1 (Pin 1 To 24):





Powertrain Control Module (PCM) C1 (Pin 25 To 56):






Powertrain Control Module (PCM) C2









Powertrain Control Module (PCM) C2 (Pin 1 To 14):





Powertrain Control Module (PCM) C2 (Pin 15 To 54):





Powertrain Control Module (PCM) C2 (Pin 55 To 73):






Powertrain Control Module (PCM) C3









Powertrain Control Module (PCM) C3 (Pin 1 To 20):





Powertrain Control Module (PCM) C3 (Pin 21 To 56):