LEMON Manuals: Even more car manuals for everyone: 1960-2025
Home >> Buick >> 2007 >> Rainier AWD V8-5.3L >> Repair and Diagnosis >> Diagrams >> Connector Views >> Automatic Transmission/Transaxle >> Control Module, A/T
April 5, 2026: LEMON Manuals is launched! Read the announcement.

Control Module, A/T



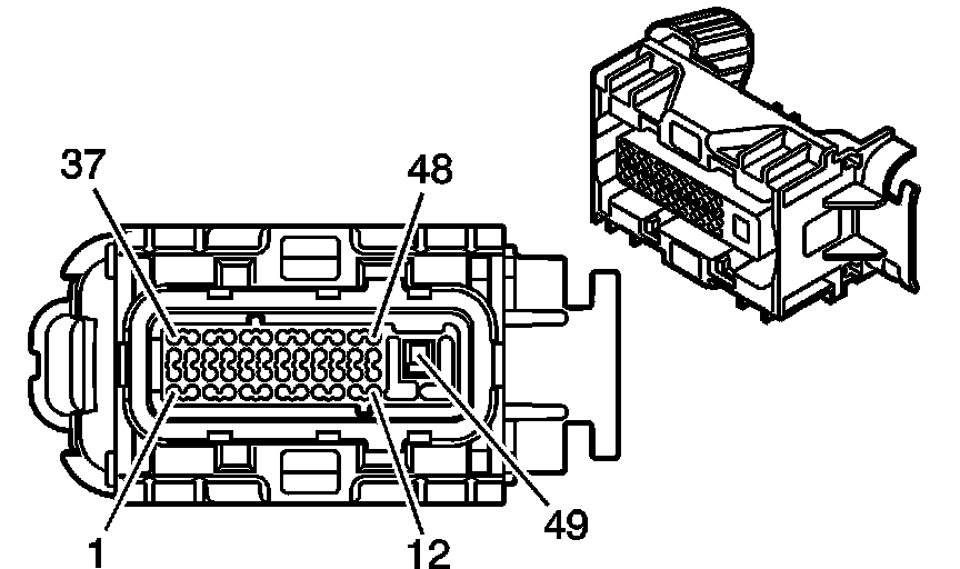
Transmission Control Module (TCM), Engine Side (5.3L and 6.0L)

Transmission Control Module (TCM), Engine Side:







Transmission Control Module (TCM), Engine Side (5.3L and 6.0L):