LEMON Manuals: Even more car manuals for everyone: 1960-2025
Home >> Buick >> 2008 >> Allure CX >> Repair and Diagnosis (Single Page) >> Quick Lookups >> Electrical Component Locations >> Component Locations & Component Connector End Views >> Component Connector End Views >> Inflatable Restraint Sensing and Diagnostic Module (SDM)
April 5, 2026: LEMON Manuals is launched! Read the announcement.

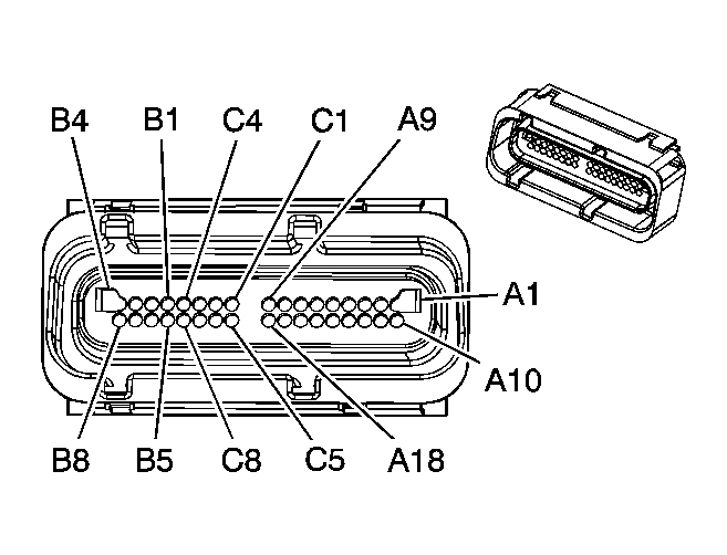
Inflatable Restraint Sensing and Diagnostic Module (SDM)

Fig 1: Inflatable Restraint Sensing and Diagnostic Module (SDM) Connector End View
GM744053Courtesy of GENERAL MOTORS CORP.
Inflatable Restraint Sensing and Diagnostic Module (SDM)

Pin Wire Circuit Function
A1 0.5 TN 3021 Steering Wheel Module - Stage 1 - High Control
A2 0.5 BN 3020 Steering Wheel Module - Stage 1 - Low Control
A3 0.5 OG 3024 I/P Module - Stage 1 - Low Control
A4 0.5 YE 3025 I/P Module - Stage 1 - High Control
A5 0.5 BK/WH 2118 Seat Belt Pretensioner - Left - High Control
A6 0.5 OG/BK 2119 Seat Belt Pretensioner - Left - Low Control
A7 0.5 OG 2117 Seat Belt Pretensioner - Right - Low Control
A8 0.5 L-GN 2116 Seat Belt Pretensioner - Right - High Control
A9 0.5 BK/WH 1751 Ground
A10 0.5 YE 1139 Ignition 1 Voltage
A11 0.35 D-BU 1128 SDM Class 2 Serial Data
A12 - - Not Used
A13 0.35 PK 2306 Occupant Sensor Serial Data Link
A14 0.35 BK/WH 238 Seat Belt Switch - Left
A15 - - Not Used
A16 0.35 RD 1362 Seat Belt Switch - Right - Signal
A17-A18 - - Not Used
B1 0.5 WH 3023 Steering Wheel Module - Stage 2 - High Control
B2 0.5 PK 3022 Steering Wheel Module - Stage 2 - Low Control
B3 0.5 PU 3026 I/P Module - Stage 2 - Low Control
B4 0.5 GY 3027 I/P Module - Stage 2 - High Control
B5 0.35 YE 2160 Front End Sensor Signal - Left
B6 0.35 GY 2260 Low Reference
B7 0.35 PU 2612 Low Reference
B8 0.35 WH/BK 2611 Front End Sensor Signal - Right Front
C1 0.5 BN 2137 Roof Rail Module - LF - High Control (AY1)
C2 0.5 YE/BK 2138 Roof Rail Module - LF - Low Control (AY1)
C3 0.5 L-GN 2136 Roof Rail Module - RF - Low Control (AY1)
C4 0.5 BK/WH 2135 Roof Rail Module - RF - High Control (AY1)
C5 0.35 YE 2131 Side Impact Sensing Module - Left - Voltage (AY1)
C6 0.35 WH 2132 Side Impact Sensing Module - Left - Signal (AY1)
C7 0.35 D-GN 2134 Side Impact Sensing Module - Right - Signal (AY1)
C8 0.35 TN 2133 Side Impact Sensing Module - Right - Voltage (AY1)
Connector Part Information 
  • OEM: 15357038
  • Service: See Catalog
  • Description: 34-Way F Micro-Pack 100W Series Sealed (GY)
Terminal Part Information 
  • Pins: A1-A11, A13, A14, A16, B1-B8, C5-C8
  • Terminal/Tray: 15435885/20
  • Core/Insulation Crimp: W/W
  • Release Tool/Test Probe: 12122523/J-35616-6 (BN)
  • Pins: C1-C4
  • Terminal/Tray: See Terminal Repair Kit
  • Core/Insulation Crimp: See Terminal Repair Kit
  • Release Tool/Test Probe: See Terminal Repair Kit