LEMON Manuals: Even more car manuals for everyone: 1960-2025
Home >> Buick >> 2008 >> Enclave AWD V6-3.6L >> Repair and Diagnosis >> Diagrams >> Connector Views >> Engine Control Module
April 5, 2026: LEMON Manuals is launched! Read the announcement.

Engine Control Module



Component Connector End Views

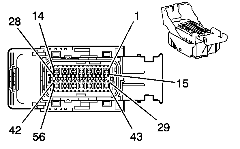
Engine Control Module (ECM) X1 (LY7)









Engine Control Module (ECM) X1 (LY7) (Pin 1 To 17):





Engine Control Module (ECM) X1 (LY7) (Pin 18 To 56):






Engine Control Module (ECM) X2 (LY7)









Engine Control Module (ECM) X2 (LY7) (Pin 1 To 28):





Engine Control Module (ECM) X2 (LY7) (Pin 29 To 73):






Engine Control Module (ECM) X3 (LY7)