LEMON Manuals: Even more car manuals for everyone: 1960-2025
Home >> Buick >> 2008 >> Enclave AWD V6-3.6L >> Repair and Diagnosis >> Heating and Air Conditioning >> Control Module HVAC >> Service and Repair >> HVAC - Automatic >> Auxiliary Heater and Air Conditioning Control Module Replacement
April 5, 2026: LEMON Manuals is launched! Read the announcement.

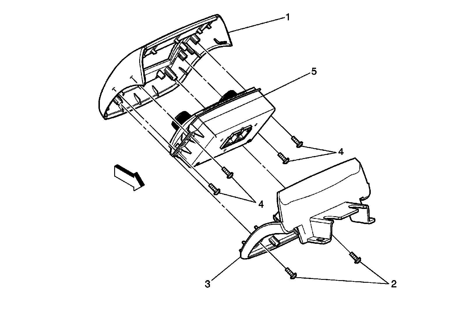
Auxiliary Heater and Air Conditioning Control Module Replacement



Auxiliary Heater and Air Conditioning Control Module Replacement