LEMON Manuals: Even more car manuals for everyone: 1960-2025
Home >> Buick >> 2012 >> Regal Base >> Repair and Diagnosis >> External Pages >> Different car >> Section 179 (Wiring Systems And Power Management - Component Connector End Views - A3L Through B62) >> Component Connector End Views >> B20 Brake Fluid Level Switch Connector End View
April 5, 2026: LEMON Manuals is launched! Read the announcement.

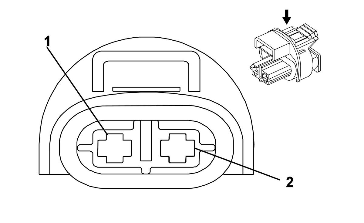
B20 Brake Fluid Level Switch Connector End View

WARNING: This page is about a different car, the 2011 Buick Regal. However, it is still accessible from the selected car via links, so may be relevant.
Fig 1: B20 Brake Fluid Level Switch Connector End View
GM2039635Courtesy of GENERAL MOTORS CORP.
B20 Brake Fluid Level Switch

Pin Wire Circuit Function
1 0.5 L-GN/GY 333 Brake Fluid Level Sensor Signal
2 0.5 BK 1550 Ground
Connector Part Information 
  • Harness Type: Body
  • OEM Connector: 13156101
  • Service Connector: 13314082
  • Description: 2-Way F 1.2 Timer Series Sealed (BK)
Terminal Part Information 
  • Terminated Lead: Pending
  • Release Tool: J-38125-560
  • Diagnostic Test Probe: J-35616-14 (GN)
  • Terminal/Tray: 964274-2/16
  • Core/Insulation Crimp: E/1