LEMON Manuals: Even more car manuals for everyone: 1960-2025
Home >> Buick >> 2012 >> Regal Turbo, Automatic Trans >> Repair and Diagnosis >> External Pages >> Different car >> Section 249 (Wiring Systems And Power Management - Component Connector End Views - K36 (X2) To M72) >> Component Connector End Views >> K46 Radio Antenna Module X1 CZ2
April 5, 2026: LEMON Manuals is launched! Read the announcement.

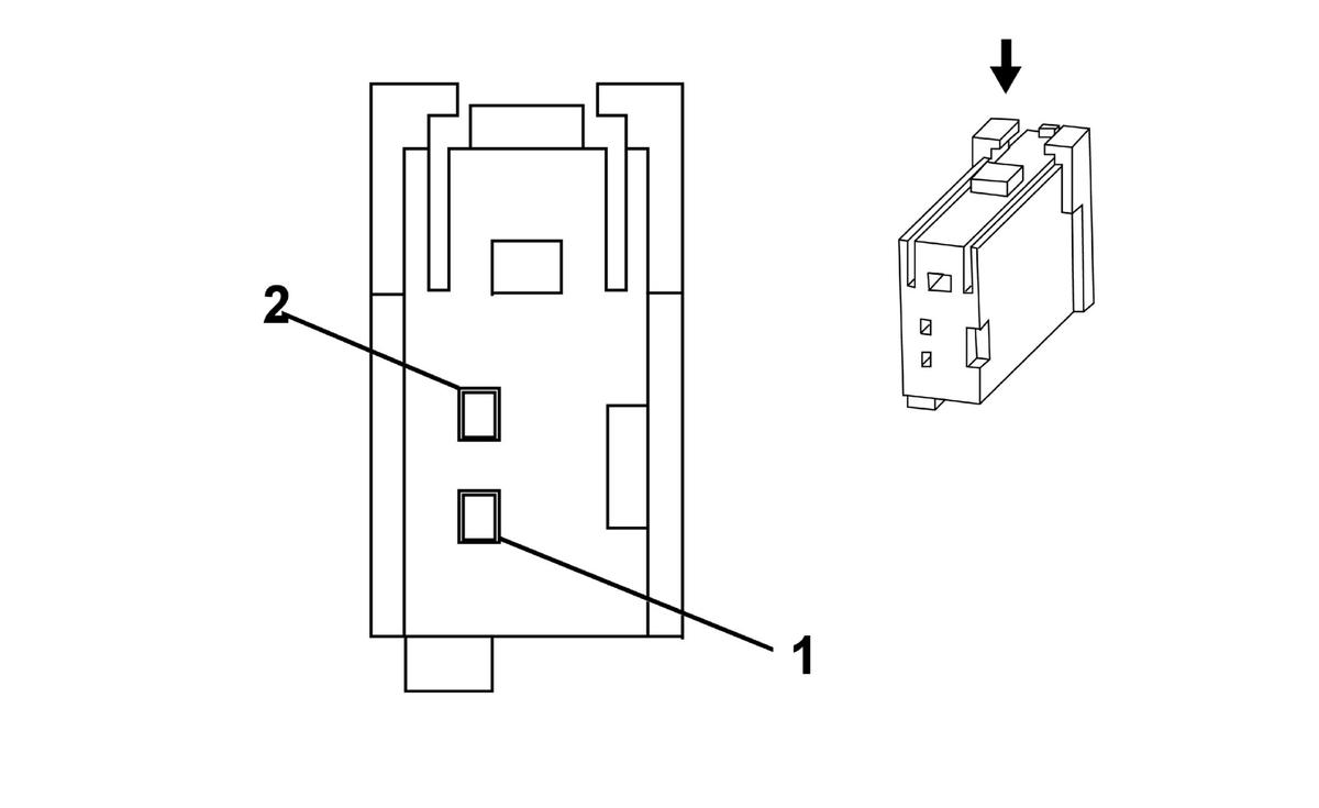
K46 Radio Antenna Module X1 CZ2

WARNING: This page is about a different car, the 2013 Buick Regal. However, it is still accessible from the selected car via links, so may be relevant.
GM2173598
Connector Part Information
  • Harness Type: Body
  • OEM Connector: 19115645
  • Service Connector: 13314093
  • Description: 2-Way F 0.64 Series (BK)
Terminal Part Information

Terminal Type ID Terminated Lead Diagnostic Test Probe Terminal Removal Tool
I 13575867 J-35616-64B (L-BU) J-38125-215A
K46 Radio Antenna Module X1 CZ2

Pin Size Color Circuit Function Terminal Type ID Option
1 0.5 GN/YE 7066 Entertainment Remote Enable Signal I -