LEMON Manuals: Even more car manuals for everyone: 1960-2025
Home >> Buick >> 2012 >> Verano L4-2.4L >> Repair and Diagnosis >> Power and Ground Distribution >> Fuse Block >> Service and Repair >> Fuse Block Replacement
April 5, 2026: LEMON Manuals is launched! Read the announcement.

Fuse Block Replacement




Fuse Block Replacement

Removal Procedure

1. Disconnect battery negative cable. Refer to Battery Negative Cable Disconnection and Connection Battery Negative Cable Disconnection and Connection.





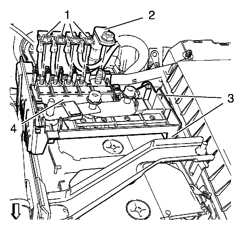
2. Unlock the retaining tab (1) on the battery fuse box cover.

3. Use a suitable screwdriver (2) to unlock the clip (4) through the window (3).





Note:
Pull the battery fuse box housing. DO NOT pull the flap.

4. Open the battery fuse box cover (1).

5. Remove the positive battery cable to starter from the battery.





6. Remove the starter generator cable (3) and starter generator cable nut (1).

7. Loosen the 2 fuse block mounting panel nut (2).





Note:
Due to various option content there might be 2 or 4 body wiring harness nuts installed.

8. Remove body wiring harness nuts (1) and front compartment fuse block cable nut (2).

9. Unlock retaining tabs (3) and remove fuse block (4) with integrated positive battery cable.

Installation Procedure

1. Install fuse block with integrated positive battery cable and lock the retaining tabs.

Caution:
Refer to Fastener Caution Fastener Caution.

Note:
Due to various option content there might be 2 or 4 body wiring harness nuts installed.

2. Install body wiring harness and body wiring harness nuts and tighten to 2.5 Nm (22 lb in).

3. Install front compartment fuse block cable nut and tighten to 12 Nm (106 lb in).

4. Install the starter generator cable and starter generator cable nut and tighten to 12 Nm (106 lb in).

5. Install the 2 fuse block mounting panel nuts and tighten to 12 Nm (106 lb in).

6. Install the positive battery cable to the battery and tighten to 4.5Nm (40 lb in).





7. Close the battery fuse box cover and lock the retaining tabs (1, 4).

8. Connect battery negative cable. Refer to Battery Negative Cable Disconnection and Connection Battery Negative Cable Disconnection and Connection.