LEMON Manuals: Even more car manuals for everyone: 1960-2025
Home >> Buick >> 2012 >> Verano >> Repair and Diagnosis (Single Page) >> Engine Mechanical >> Engine Mechanical - 2.4L >> Specifications >> Thread Repair Specifications (LEA) >> Engine Block- Right Side View
April 5, 2026: LEMON Manuals is launched! Read the announcement.

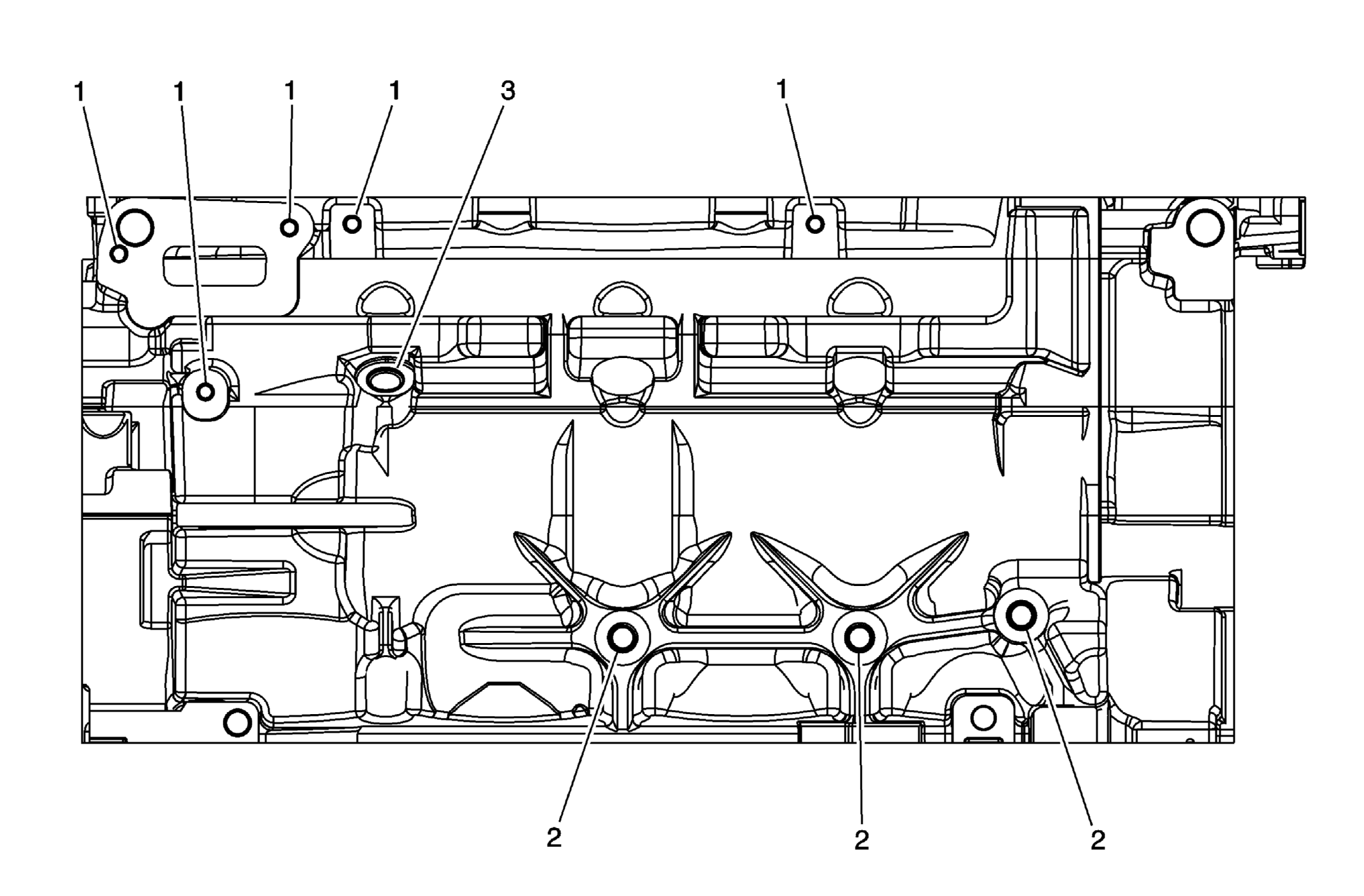
Engine Block- Right Side View

Fig 1: Locating Bolts On Engine Block - Right Side View
GM2201811Courtesy of GENERAL MOTORS COMPANY
Engine Block- Right Side View

Service Call Out Thread Size Insert Drill Counterbore Tool Tap Driver Drill Depth (Maximum) Tap Depth (Maximum)
EN 42385-850 MM (IN) MM (IN)
1 M6 x 1 205 201 202 203 204 20.5 0.807 16 0.63
2 M10 x 1.5 215 211 212 213 214 23.5 0.925 18.5 0.73
3 M12 x 1.75 865 856 857 858 859 19.5 0.768 12.5 0.49