LEMON Manuals: Even more car manuals for everyone: 1960-2025
Home >> Buick >> 2013 >> Verano Base >> Repair and Diagnosis >> External Pages >> Different car >> Section 202 (Wiring Systems And Power Management - Component Connector End Views - K20 ECM X2 Through X85) >> Component Connector End Views >> K61 Sunroof Control Module (CF5)
April 5, 2026: LEMON Manuals is launched! Read the announcement.

K61 Sunroof Control Module (CF5)

WARNING: This page is about a different car, the 2012 Buick Verano. However, it is still accessible from the selected car via links, so may be relevant.
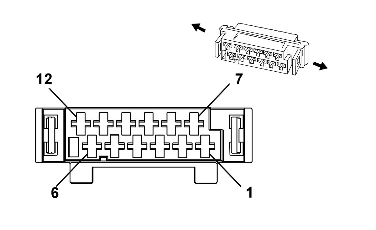
GM2173946
Connector Part Information
  • Harness Type: Body
  • OEM Connector: 929012-1
  • Service Connector: 90221505
  • Description: 12-Way F 2.8 Junior Power Timer Series (BK)
Terminal Part Information
  • Pins: 1, 2
  • Terminated Lead: 13575582
  • Release Tool: J-38125-36
  • Diagnostic Test Probe: J-35616-35 (VT)
  • Terminal/Tray: 4-965999-1/25
  • Core/Insulation Crimp: 4/A
  • Pins: 3-6
  • Terminated Lead: 13575583
  • Release Tool: J-38125-36
  • Diagnostic Test Probe: J-35616-35 (VT)
  • Terminal/Tray: 2-964284-1/25
  • Core/Insulation Crimp: E/A
K61 Sunroof Control Module (CF5)

Pin Size Color Circuit Function Option
1 2.5 RD/BN 440 Battery Positive Voltage -
2 2.5 BK 1550 Ground -
3 0.5 BK/GY 128 Low Reference -
4 0.5 GN/BN 6132 Linear Interconnect Network Bus 1 -
5 0.5 BU/VT 5027 Sunroof Switch Data (1) -
6 0.5 WH/GN 3031 Sunroof Vent Switch Signal -
7-12 - - - Not Used -